文 | 趣解商业 张语格
2026开年,中国大模型行业传来重磅消息:成立仅两年多的月之暗面,最近两个多月内连续完成超12亿美元的融资,估值突破100亿美元,刷新国内企业晋级“十角兽”(估值超100亿美元)的最快纪录,同时创下近一年来国内大模型行业的最高融资纪录;此外,其新一轮100亿至120亿美元估值的融资也已开启。
从天使轮3亿美元估值到百亿美元身价,月之暗面仅用两年多实现30多倍增长。估值增速破纪录的同时,有媒体报道,月之暗面最近20天的收入,已经超过2025年全年。
这家年轻的大模型企业,为何收入和估值同时狂飙?在巨头环伺、技术迭代加速的 AI 赛道,它又能否将短暂的爆发,转化为真正可持续的商业壁垒?
01 K2.5成增长引擎?
月之暗面的主要收入来源,是API调用费用以及C端用户的付费。在20多天前,月之暗面开源了最新的K2.5大模型,月之暗面近期收入暴涨,正是源于K2.5出色的表现。
作为月之暗面新一代旗舰模型,K2.5在多模态理解、智能体协作与长文本处理上实现了关键跨越:不仅全面升级图像、文档解析能力,还正式支持视频输入与理解,让模型具备了跨模态的综合推理能力。
有从业者表示,以往想要用Kimi克隆带动画效果的网站还只能截图描述,现在直接录一段视频发送给Kimi即可,从结果来看,K2.5物理仿真与程序化动画生成效果确实相当出色。
在第三方开发者社区中,有开发者对比了Kimi K2.5 和Claude Opus 4.5,后者与GPT-4o、Gemini 1.5 Pro并列为全球大模型的第一梯队,开发者选型时往往以能否达到Claude Opus水平作为参考。评测显示,K2.5在数学、视觉编程、上下文窗口、网页交互等能力上都胜过后者,同时还拥有更低的价格,对中小开发团队极具吸引力。

图源:APIYI
此外,K2.5还落地了自研的Agent Swarm智能体集群架构,可支持多个智能体并行协作。例如用户想要写一份深度调查报告,下达任务后会有不同的智能体专家分步执行:搜索专家找政策文件、市场数据,分析专家处理数据,写作专家输出报告。“趣解商业”注意到,月之暗面已经根据Kimi的能力规划了不同的会员套餐,要使用Agent集群功能需要开通199元/月或699元/月的会员。
如果不使用Agent集群,只是提升K2.5的使用额度,套餐价格分别是49元和99元每月。有报道显示,Kimi用户对此付费意愿相当高,尤其是海外地区,目前月之暗面的海外收入已经反超国内。
实际上,月之暗面最近一个月付费用户暴涨并不是偶然。早在K2.5开源前夕,创始人杨植麟就在公司内部信上表示,海外C端商业化在飞速发展,海外和国内付费用户数平均环比增长超过170%,9-11月海外API收入增长4倍。凭借更强的性能与更亲民的价格,K2.5开园后在海外开发者社区、科技论坛中口碑持续发酵,已经成为OpenRouter上(全球开发者聚合平台),API调用量稳居前列的中国大模型之一。
模型性能与商业化的巨大突破,源于过去一年月之暗面的战略调整。2025年初,月之暗面退出投流营销大战,选择All in模型能力和Agent。有媒体报道称,决定转向All in模型能力、K2模型开源时,月之暗面算法团队几乎是“抱着必死决心”在投入。
这种在技术深度探索上的坚决,已经持续到2026年。杨植麟表示,接下来月之暗面将更加激进地扩增显卡,加速K3模型的训练和研发,在预训练水平上追平世界前沿模型;同时产品和商业化上聚焦agent,不以绝对用户数量为目标,持续追求智能上限,创造更大的生产力价值,营收规模实现数量级增长。
可以看到,虽然是初创公司,但凭借技术与商业化的双重底气,月之暗面已经站到全球大模型赛场中央,2026年也将成为Kimi与国内互联网大厂、全球头部模型正面“掰手腕”的一年。
02 百亿现金够烧多久?
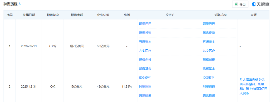
技术和产品上的种种突破,正在给月之暗面带来正向的商业循环。最近三个月内,月之暗面完成了两轮融资,两轮合计吸金超12亿美元。
“天眼查”显示,2025年12月月之暗面5亿美元的C轮融资由阿里、腾讯、IDG资本投资;2月份新一轮超7亿美元的C+轮融资由阿里、腾讯、五源资本、九安医疗、高榕创投等联合领投,高榕创投等老股东继续加码,投后估值超100亿美元。

图源:天眼查截图
月之暗面100–120 亿美元的估值,在国内大模型赛道已跻身第一梯队,但与已上市的智谱、MiniMax超2500亿港元市值仍有明显差距;横向对比全球头部独角兽,约为OpenAI(7300亿美元)估值的1/66、Anthropic(3800亿美元)估值的1/35。
2024年,杨植麟曾被传出出售月之暗面股权套现数千万美金,一度被外界质疑是内部不看好公司发展;而如今随着K2、K2.5陆续开源,月之暗面又重新成为一级市场的“香饽饽”,此前的质疑也悄无声息。尤其是在最近的两轮融资中,都有月之暗面的老股东进行超额认购,反映了早期投资方对项目的持续押注意愿。
顺利的融资给月之暗面带来了充裕的现金流,这让月之暗面选择了一条与智谱、MiniMax截然不同的资本路径。去年12月杨植麟在内部信中表示,公司账上还有100亿元现金,“相比于二级市场,我们判断还可以从一级市场募集更大量资金,所以我们短期不着急上市,也不以上市为目的。当然未来我们计划将上市作为手段来加速AGI。”参照MiniMax与智谱在招股书中的数据,月之暗面的现金还可支撑3-5年的研发投入。
月之暗面的核心营收目前高度依赖开发者API调用和付费用户,这种商业模式的护城河,本质上是基座大模型的技术领先性;一旦技术迭代放缓,开发者便可能会用脚投票,转向性价比更高或能力更强的替代方案。
在月之暗面突飞猛进的同时,智谱和Minimax的大模型也在近期交出亮眼答卷。智谱的GLM-5凭借性能优势上调编程套餐定价,依旧供不应求;MiniMax的M2.5最近也登顶 OpenRouter每周/每月排行榜榜首,成为全球首个单周调用量突破3万亿Tokens的模型。
值得注意的是,Agent场景同时也是智谱和Minimax重点瞄准的方向,GLM-5面向 Agentic Engineering打造;M2.5是全球首个为Agent场景原生设计的生产级模型。随着Open claw爆火,2026年AI竞赛的焦点已从“模型性能”转向“Agent实用化”,作为曾经同属“AI六小龙”的智谱、Minimax和月之暗面,在Agent赛道上的正面竞争已无可避免。

图源:小红书截图
接下来,各互联网大厂也将依托自身生态与流量优势快速切入,通过打通办公、终端、云服务等场景,与Agent OS深度绑定;相比之下,自有生态薄弱的月之暗面,将同时面临同行紧追与巨头合围的双重压力。
对月之暗面而言,K2.5的爆发只是漫长商业化征途的起点,接下来的持久战,考验的不仅是百亿现金的燃烧效率,还有在技术迭代与商业闭环之间找到平衡点的速度。


评论