据美国媒体报道,苹果于北京时间8月22日又获得了一项无人驾驶的专利,根据该专利的描述,这套系统可以让车辆在自动驾驶时提醒乘客接下来将按照怎样的路线行驶,例如汽车将离开高速公路,你就会提前在显示屏上看到信息。

乍一看这技术毫无亮点,和我们平时用的高德地图中的“前方二百米右转”好像也没什么区别,不过苹果这项专利可不单是给你用来指路的,而是为了避免车辆突然变道让你感到惊讶,虽然看上去有些多余,仔细想想也确实是一个贴心的设计。
这两年在移动互联网与AI技术的加持下,无人驾驶已经成为了一种趋势,也是各大科技公司厮杀的“决赛圈”。某些只会做PPT的厂商样车都出来了,地表最有钱的苹果在这一领域的进展却依旧不温不火,令人捉急。
其实苹果在无人驾驶领域的努力并没有这么佛系,早在2015年,苹果就设立了名为Project Titan的造车计划,不断加大研发投入,从竞争对手那里重金挖人,组建了声势浩大的研发团队,一心想用苹果牌汽车再一次改变世界。

只可惜这辆车始终是神龙见首不见尾,反倒是苹果引以为豪的软件专利陆续曝光,让人得以一窥未来苹果汽车可能的面貌。
为了打造这样一款系统,苹果在过去的两年里陆续申请了各种无人驾驶相关专利,众所周知,苹果做产品始终站在用户的角度,除了一开始提到的技术,纵观苹果之前的一些无人驾驶专利,每一项技术背后似乎都体现着苹果在服务与体验上下的功夫。
无人驾驶要心里踏实
去年年底,苹果公布了一项有关无人驾驶汽车自动导航的专利,据悉这项技术已经被苹果打磨了两年之久,该专利显示,苹果的无人驾驶系统可以在不借助其他数据,不存储本地数据的前提下,通过计算机实时演算导航与驾驶。不仅减轻了系统负担,同时保障了数据安全,对于很多害怕汽车系统被入侵的用户而言无疑大大增加了安全感。

坐车最重要的是舒服
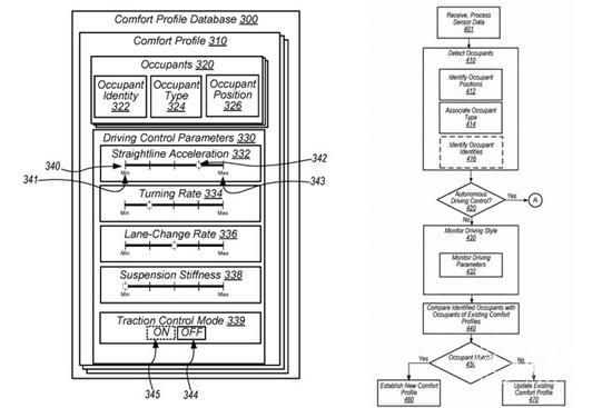
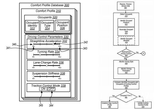
今年三月,苹果又申请了一项人车互动的专利,你的一举一动,例如心跳、瞳孔甚至屁股对坐垫的压力的变化等都在监测之中,系统通过实时分析这些数据,对车辆行驶状态进行调整,从而达到舒适的状态。官方宣称这一专利将降低乘客产生恐慌的可能性,为了让你更舒服的坐车,苹果的研发团队可没少下功夫。

此外,还有媒体报道在三月份的专利中,用户还可以通过手势来操控汽车,汽车也会识别交警的手势,实时改变行车状态,在让人类不断变懒的道路上,苹果也是做出了不小贡献。
挡风玻璃就是中控屏幕
本月初,外媒报道了苹果的又一项专利,它描述了一款具有AR显示功能的挡风玻璃,不仅能够显示你的车速,路况等信息,还可以通过这块屏幕接听电话,以及与其他车主或汽车服务机构进行交流,就像戴上了钢铁侠的头盔,整个驾驶过程变得又科幻又酷,相比于其他厂商越做越大的中控屏幕,这一解决方案在效率上更胜一筹。

除此之外,这项专利中还进一步描述了前面提到的监测用户状态,当你在行车过程中感到紧张,你的挡风玻璃或系统语音会跳出提示对你进行安抚。
此外,识别司机的意图、同时操控多辆无人车、更精准的激光雷达等技术也出现在苹果的大大小小的各种专利之中。虽然苹果没再造车,但对无人驾驶系统的打磨从未停止过。
所以,苹果还造车吗?
换个角度来说,在当下的汽车产业中,硬件的研发相对比较成熟,拥有一套完善的无人驾驶系统才算是掌握了核心科技,其付出的成本也占据了更大的比重。苹果站在用户体验的角度,对于细节的不断追求也让无人驾驶背后复杂的人机交互变得更加友好,也更有温度。从硬件开发到追求用户体验,苹果在无人驾驶领域找到了新的定位,即便很多专利暂时不能落实,在这些理念的加持下,这一系统也会更快地走向成熟与完善。

不过,苹果向来不会提供单纯的系统服务,不论是Mac还是iPhone都是自家软硬件相结合的前提下才拥有了出色的用户体验,即便是CarPlay,也要基于iOS与iPhone。从这个角度来说,苹果大概一直都没有放弃自己的造车梦吧。


评论