文|雅斯顿
近日,特斯拉中国官网悄然上线了Model Y车型的配置和价格,并开始接受国内消费者预定。与美国一样,国产Model Y将率先推出两款车型,分别是双电机全轮驱动长续航版和Performance高性能版,预估售价分别为48.8万元、53.5万元起(目前美国售价分别为49990美元和59990美元起),在实际交付时价格或有所变动,预计最快2021年开始生产。
作为特斯拉首款入门级SUV车型,Model Y从去年3月正式发布后就一直备受关注,今年一季度Model Y在美国加州的弗里蒙特工厂量产并开始向消费者交付。国内消费者也对此很是上心,相比Model 3,究竟Model Y进行了哪些改变?
一体成型,是生产工艺还是生产效率的提升?
最显眼的变化就是车身尺寸上的,Model Y的长宽高分别为4750/1921/1624mm比Model 3的4694/1850/1443mm大了一圈,所以在乘坐空间上,Model Y的表现会俘获一部分消费者,但整体外观差异并不大,很多人甚至觉得这就是一款变大变宽的Model 3。同时,定位于纯电动中型SUV的Model Y与Model 3是基于同平台研发的,二者通用75%的零部件,又同为特斯拉「跑量」的重磅车型,有很多肉眼可见的相似之处并不会太让人意外。
何况特斯拉之所以特别,拥有如此之多的铁杆粉丝,从来都不是依靠这些显而易见的东西赢得的,真正买特斯拉的死忠粉在意的也不会是特斯拉的制造工艺和质量,因为与竞争对手相比,它们确实不怎么样,不过如今的特斯拉却也正对这些方面不断进行革新。
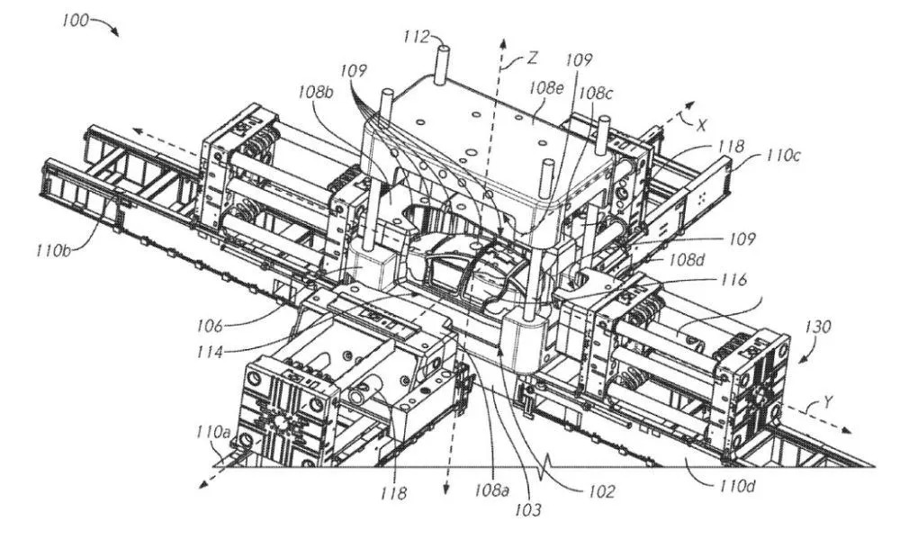
日前,埃隆·马斯克在大肆宣传即将在德国制造的特斯拉Model Y时就曾声称,这将是「汽车车身工程的一场革命」,因为特斯拉成功地将Model 3中70个零件整合成了Model Y中的2个零件,这样做的好处就是车身的多个部分可以一体化制造,不需要进一步的组装和焊接。而实现这一切依靠的便是特斯拉的全新专利:「用于车架和相关方法的多方向一体式铸造机」,同时特斯拉还计划在其整个电动车产品线中更广泛地使用这一超大型铸造技术。

通常情况下,白车身是通过分别使用多台压铸机来制造出车身的不同部件,当这些部件都生产出来之后,再由工人或机器人将它们焊接在一起,以形成一个整的白车身。特斯拉的大型铸造机可以简单的看作是由五大模块组成,当这五大模块制造完成之后再通过少量焊接,便可将它们连接起来形成一个完整的白车身,从而达到「70和1」的效果。
车身制造工艺转为铸造件设计后,不仅可以大大减少零部件数量、幅缩减组装机器人成本、时间成本、人工成本等,还可更快地进行批量自动化生产。对于特斯拉而言,这肯定是提升产量的一大利器,不过对于消费者而言,毕竟是一体成型式车身,后续维修保养费用估计不会便宜。
Model Y的秘密武器有哪些?
不过特斯拉真正领先同行数十年,可被竞争对手们立为行业标杆,依靠的依旧是车身控制层面的技术,譬如传感器和电池。与前代产品车型相比,Model Y采用了特斯拉自己新一代热泵技术,被称为Octovalve八角阀热泵模块。这也是马斯克非常引以为傲的一项技术,他对外宣称,八角阀热泵模块是Model Y最「显著的变化」之一,尽管大多数客户不会注意到它的存在。

据悉,Octovalve是加热和冷却系统控制的关键阀门模块,该模块让Model Y的供暖、通风和空调系统与其他任何汽车都不相同。大部分热泵在零下10到20摄氏度时就会遇到问题,而特斯拉团队为了解决这个问题,给这一热泵建立了一个局部加热回路,只自转并在局部变热,然后再打开另一个阀门来加热机舱。这样不仅可以提高选择性加热和冷却车辆局部的能力,还能减少系统所需的电量,进而改善电池的续航。最重要的是,该系统加热或冷却机舱的速度都比普通系统要快,完全是一款来自航空航天工业的产品。
作为电动汽车驱动系统的「心脏」,Model Y的电机也有所不同。相比Model 3的前端感应电机为铜转子,Model Y换代为了铝合金转子,在效率上有所提升;Model Y的逆变器模块,相比Model 3也有很大的提升,能从根本上提升电机的管理能力;Model Y的电池与Model 3基本相似,依旧采用了数千个不需要太多包装或支撑固定的圆柱形电池。不过特斯拉也在致力于生产自己的电池,去年它收购了美国加州电池和超级电容器生产商麦克斯韦技术公司。

在电子系统方面Model Y也有所改进,它采用了第三代车身控制模块,提高效率的同时让模块更小更垂直集成。特斯拉电子系统还包含一项「只闻其声未见其人」的技术,特斯拉自主研发设计的处理器芯片。该芯片提供高级自动驾驶功能,从去年发布至今,马斯克就毫不避讳地称其为「世界上最好的芯片」,该芯片每秒可运行36万亿次,远超过特斯拉之前所采用的英达伟芯片运算能力。不过具体表现如何,也只有用过的人才知道了。
除了以上这些,特斯拉品牌本身还有一个最大优势,便是专用充电网络。据特斯拉官方数据显示,在北美、欧洲和亚洲有将近17500台超级充电桩。去年底,特斯拉开始安装第三代充电桩,以进一步扩展和加快网络速度。据官方介绍,第三代充电桩可以以高达250千瓦的速度给Model 3型充电,使其在5分钟内获得75英里的续航里程。此外,当多辆汽车在同一个充电站充电时,充电器不再分流电源。
特斯拉的竞争力当然不止上面提到的这些,还有埃隆马斯克本人的品牌价值也占很大一部分比重。而当Model Y也实现国产之后,价格必然会进一步下探,势必也会进一步挤压国内自主品牌纯电动汽车的销量,只是到了那个时候,国内市场格局又会发生哪些变化呢?


评论