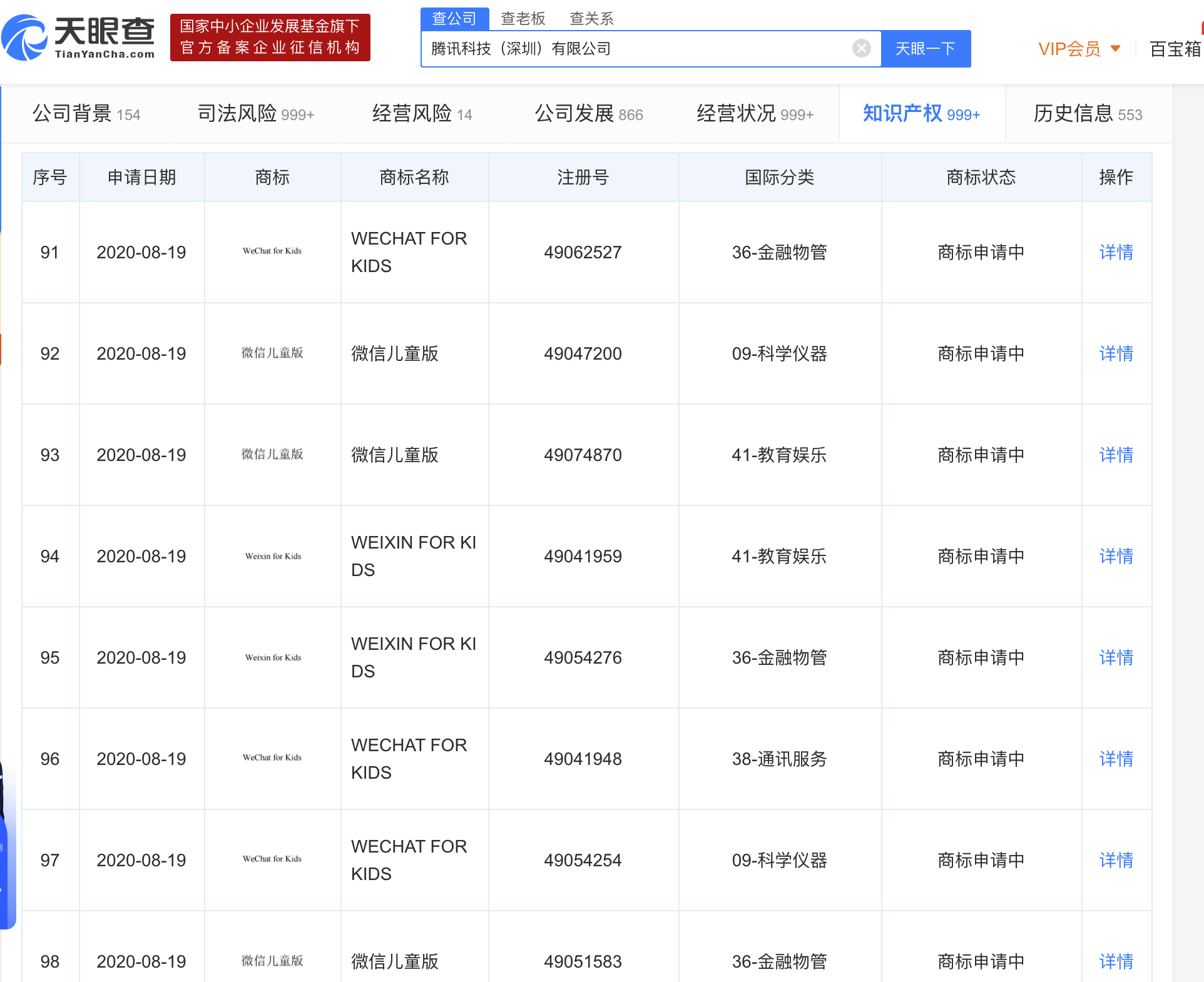
据天眼查APP显示,8月19日,腾讯科技(深圳)有限公司申请注册多项“微信儿童版”及“WEIXIN FOR KIDS”商标,国际分类分别为“38-通讯服务”“41-教育娱乐”“09-科学仪器”等。此前有消息称,腾讯即将发布微信儿童版。据悉,目前微信儿童版已进入内测阶段。

来源:界面新闻
据天眼查APP显示,8月19日,腾讯科技(深圳)有限公司申请注册多项“微信儿童版”及“WEIXIN FOR KIDS”商标,国际分类分别为“38-通讯服务”“41-教育娱乐”“09-科学仪器”等。此前有消息称,腾讯即将发布微信儿童版。据悉,目前微信儿童版已进入内测阶段。

评论