记者 |
最近,不少车主对特斯拉开启一个全新的吐槽点:

其实,关于特斯拉的全景天窗或天幕,一直被一些车主诟病。只不过今年特斯拉负面比较多,夏天又热得有点厉害,才迅速成为了新的“众矢之的”。
早在2017年7月,就有一位买了特斯拉model S P90D的车主拍了一段视频诉苦,表示自己的这辆车,看起来有很酷的全景天窗,但由于没有选配的官方通风座椅和遮阳帘,即使把车内空调开到最低,也就是15.5摄氏度,车内依然不是很凉快。尤其是玻璃天窗那块儿,温度可能已经达到50度以上。万一小孩顽皮碰到,甚至可能被烫伤。
今年4月,也有特斯拉Model 3的车主吐槽表示车顶是在太晒了,全景天窗只有一层遮挡布,太阳直射下,车内温度会升高很多。
“不否认这个全景天窗隔离紫外线的效果,但是吸热严重,大太阳下面,这个车顶非常烫手!我这种身高在183cm的人,明显会感到头顶‘着火’,而且车顶还不能打开,只能把座椅调至最低,但腿又憋屈了,大夏天开Model 3确实没办法太舒适。”

其实还有不少人觉得,这两年夏季停在室外的车似乎是越来越烫。
温室效应的确是一个主要原因。
另一个原因就是自带全景天窗的车型越来越多。这种车型看起来更时髦浪漫,但在极端天气,车内温度肯定会比没有天窗或只有部分天窗的车型,要不舒服一些,比如更容易“冬冷夏热”。
所以就有了那位特斯拉女车主遇到的迷之遭遇——在特斯拉里打起了伞遮阳。
其实,中学物理课本上就说过:物质有各自的密度和导热性,密度越小导热越慢。
玻璃的密度是25000千克/立方米,导热系数是0.76,大概是约是钢铁的1/3,因此玻璃和许多金属相比,导热要慢一些。
但如果金属下面是厚厚的海绵、织物或聚苯乙烯泡沫塑料呢?
比如标准密度18-30千克/立方米,导热系数0.037-0.041的聚苯乙烯泡沫塑料,导热肯定会比玻璃慢很多。即使上面盖了钢板,其速度也比玻璃慢——因此,拥有全景天窗的特斯拉会被消费者吐槽太热了,是极为正常的一件事儿,毕竟导热性太好了。
但无论特斯拉还是其他车型,如今全景天窗的制作材料,都离不开我们无比熟悉的汽车玻璃。
汽车玻璃安全史
最早的汽车玻璃,其实就是眼镜。
汽车刚被发明那几年都是没装玻璃的,不仅因为当时汽车的保有量不高,速度也不快,更因为当时没啥厂家能生产出大面积的玻璃。但开着没任何遮蔽的车,势必难防恶劣天气、飞溅出来的垃圾污水,以及开着开着就撞上来的昆虫们。
于是,最早的那批驾驶员和乘客想到的解决方式,就是戴眼镜。
进入20世纪初期,汽车数量开始日益增多。风、昆虫以及各种污垢、垃圾打在驾驶员和乘客脸上和身上的问题日益严重,玻璃的生产工艺也有了非常大的发展,延续千年的吹筒法和冕牌玻璃被彻底取代,汽车制造商终于可以在驾驶仓前方加装一块面积较大的玻璃,挡风玻璃正式出现。
但当时的挡风玻璃都由平板玻璃手工切割而成,遇到撞击就会碎成尖锐的大片,很容易划伤驾乘人员。大名鼎鼎的亨利·福特曾就曾亲眼目睹破碎的挡风玻璃将乘客扎成重伤——直接促使福特汽车在1919年推出了一款全新的Model T两门版车型,其最大卖点就是标配了带夹层的双层玻璃,大大降低了玻璃伤人的概率。
1934年,克莱斯勒率先推出了搭载弧面挡风玻璃的汽车。不少车商纷纷效仿,诸如凯迪拉克、别克、奥尔兹莫比等品牌也都纷纷开始赶时髦。最夸张的莫过于美国的斯蒂旁克汽车公司,它在1947年推出了一款名叫”冠军星光“的两门版轿车。这款轿车被立柱分割出了许多车窗,每一扇窗的玻璃,都是弧形的。
1950年代,车企们看上了成本更低(似乎)也更安全的钢化玻璃——它们更易切割,还比普通玻璃硬上数倍,破碎时只会碎成小块且不伤人。有些车企甚至将所有车窗都改成了钢化玻璃,他们认为这么做既节省了成本,又能保障消费者的安全。
殊不知这种玻璃虽然受到撞击会迅速扩散成无数小颗粒,一旦玻璃破裂,碎裂纹会严重影响驾驶员的视野,且许多微小碎片会直接蹦入前排人员的眼睛,引发二次事故。
更糟的是,钢化玻璃中的硫化镍是个“定时炸弹”,让前者自带“自爆”特质,自爆率一般在千分之一左右。所以在1950年代,国外发生过许多由于前挡风玻璃自爆,吓到司机导致汽车失控的事件。
所以在1960年代,钢化玻璃就被规定不得用作前风挡玻璃,但依旧能用在侧挡位置,方便车内人员在遇到紧急情况时及时逃生。
在钢化玻璃“占领地球”的同时,别克汽车首先开始使用全景前挡风玻璃,以减少视野盲区,提高驾驶安全——但全景玻璃的出现又让人们突然意识到,车内似乎再无隐私可言,这种玻璃对于车内财物和人身安全也是一种新的威胁。
于是乎,汽车专用的有色玻璃出现了。
1970年代,美国成立了专门的部门来把控汽车的出厂质量,其中就包括汽车玻璃。那时的汽车玻璃,质量已经和现在非常接近了,开始采用自带部分钢化玻璃的夹层玻璃,以做到防爆防晒防噪音的目的。
这一百多年来,汽车玻璃经历了平板向曲面、普通向钢化、钢化向夹层、两层夹层向多层夹层、单一功能向多功能化发展。
在我国,《汽车安全玻璃》这项标准是在1988年开始公布实施的,目前正在执行的版本为2003版。对汽车玻璃的厚度、尺寸、弯曲度、吻合度、外观质量等都有明确标准,以及抗冲击性能、抗磨性能、光学性能、耐热、耐辐照、潮湿等性能都有明确要求。
如今,汽车玻璃的制造技术依然在不断发展精进——比如现在所有车辆都会标配的防紫外线玻璃;倾斜角度越来越来越小,风阻系数也越来越小的前挡风玻璃;自带纳米技术,含有大量陶瓷或水晶晶体的控光玻璃……
防紫外线是如今汽车玻璃的必备技能
目前,我们街道上最常见的汽车玻璃,大都拥有的这样最重要的“技能”:抗砸、降噪和防紫外线。
抗砸和降噪都是属于夹层玻璃的范畴。前者主要原理是因为两层甚至几层玻璃重叠在一起,层与层之间都会有一层胶状膜,保证玻璃在遭遇撞击时不会完全裂开、扩散或脱落;后者主要原理也是通过双层或多层复合结构,让玻璃与玻璃之间的隔音阻尼胶(薄膜)对声音传播,起到弱化和衰减的作用。
防紫外线玻璃其实和之前提到的有色玻璃是有区别的。
防紫外线玻璃是指其通过阻止/反射/吸收紫外线,让后者不能透过自身的玻璃。当然事实上,即使是普通玻璃也有防紫外线的功效,不过只能阻挡90%以上波长小于300nm的紫外线,对于波长介于350~300nm之间的UVA阻挡作用在10~90%之间,90%以上波长大于350nm的紫外线依旧能通过。
防紫外线玻璃的制作,一般就是在普通硅酸盐玻璃中加入氧化钛、氧化二钒、氧化铁等金属氧化物,能吸收大量产生热量的近红外光线,一般也被称为吸热玻璃。外观看上去是略带蓝绿色,接近于无色透明——仅这点事,就和有明显颜色的有色玻璃有着很大不同。
想要有降温效果,就需要在玻璃上再涂上隔热镀膜,上面是能阻隔热量的纳米粉体,以达到防紫外线外加降温的效果,一般效果在3-6度左右。
但为什么,大家都觉得车玻璃上贴了隔热膜之后,没有丝毫降低温度的功能呢?
很简单,夏季太阳下暴晒了一段时间的汽车,尤其是停在路边的汽车,一般车内温度动辄就有四五十度,对于刚打开车门的人而言,车内肯定比车外热,即使贴了膜降了三五度,人的体感肯定还是觉得车内奇热无比。
而且,虽然叫吸热玻璃或镀膜隔热玻璃,但这种玻璃的首要功能是吸收紫外线,吸收太阳可见光,减弱太阳光强度,其次才是降温。
还有一点就是文章开头提到的——玻璃面积太大,反而增加了汽车的导热性,使得车内变得更热。
所以说,如果看到哪款车是将“隔音玻璃”或“抗紫外线玻璃”作为大卖点的,买车的时候请务必长点心眼。
距离智能控温还有多远?
就目前为止,能做到明显控温降温的汽车玻璃……并没有。即使是商家们作为卖点的防紫外线玻璃,如果面积太大,其实也是无法达到明显隔热的。
除了控温,目前汽车玻璃还有一个重要的技能点无法达到——就是防炫光。即像墨镜偏光镜那样,能有效缓解诸如夜间或雨天常见的远光灯光。
但就目前技术而言,前挡风玻璃是肯定不能做成偏光玻璃的。
偏光玻璃都必须是深色玻璃——和普通有色玻璃不同。由于它的制作工艺和“特殊技能”会明显减少进光量,而且还会随着驾驶者的视角变化,出现忽明忽暗的问题,严重影响行车安全。
据了解,关于广大车主急需的真·黑科技·隔热控温汽车玻璃,目前依旧处于研发阶段。
其实在2018年,新加坡国立大学的专家课题组曾发表了一篇论文,是关于他们研制出的一种“可选择性调控可见光与热的智能窗”,不过主要针对的是建筑能源消耗方面。
主要依托在电致变色玻璃(一种利用电场产生电化学氧化还原反应,达到自动变色的玻璃)的基础上,一种通过动态控制阳光的透过率,达到可选择性调控可见光与热的效果。
但电致变色玻璃一直都有成本过高,材料制备过程复杂,可见光与热的选择性差,电致变色性能差等问题。
新加坡国立大学的课题组通过将三价铝离子嵌入/嵌出的方式,打造出一种双波段电致变色玻璃。这种电致变色玻璃不仅可以实现对可见光与热的有效独立控制,还展现出优异的电致变色性能和较快的响应时间,着色效率和循环稳定性都很强。
但是,目前这种优秀的“智能玻璃”先应用于城市建筑,优化能源效率,减少建筑的能源消耗,之后才会考虑投放到其它方面。
最后再说回特斯拉的全景天窗,马斯克挺早就意识到了它所存在的一些硬伤,并展开补救措施。
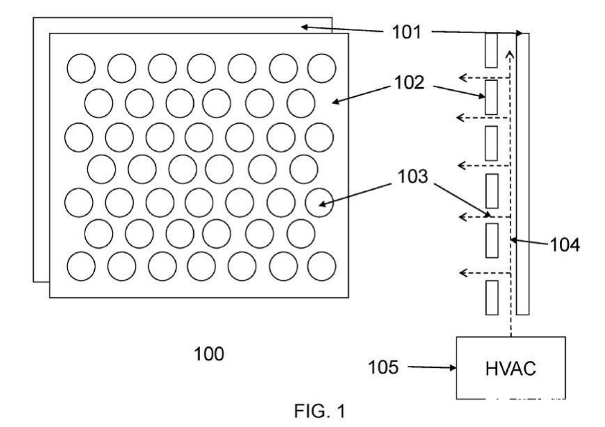
有外媒表示,2020年1月电动皮卡Cybertruck正式发布没多久,特斯拉的材料设计团队就开始了一项新的玻璃技术专利,主要就是为了更好地降低车内噪音、控制车内温度。据了解,特斯拉打造这种玻璃,是专门为了皮卡Cybertruck和大卡车Semi。
当时专利申请文件的描述看,这项专利被称为“汽车穿孔中空玻璃结构”,正是特斯拉准备用来制造一部分甚至全部车顶的材质,不仅能让汽车内部看起来更开阔宽敞,还能降噪和控温。

之前我们已经提过,已经有不少汽车通过使用双层玻璃,以及玻璃之间的间隔层,从而达到降低噪音的特性。但是控温……似乎没啥玻璃可以做到。
特斯拉要做了,就是运用这种新材料的新结构,将车内温度控制到最理想的状态,甚至可以将车辆HVAC系统(即Heating, Ventilation and Air Conditioning的英文缩写,全称为“供热通风与空气调节”)的负载降到尽可能低。当然,他们这么做除了照顾车主的基本需求——因为控温不仅仅是针对夏天,还要考虑到冬天。毕竟电动车并不存在免费热源,只能利用锂电池来提供暖风空调,所以必然会导致冬季电动车续航里程大幅减少的情况。
当然无论冬夏,只要能将车内温度控制好,电动车的电池肯定会更安全,寿命更长,续航里程也会更久。
只不过,目前已经过了一年半时间,特斯拉皮卡Cybertruck前几天被爆难产,这能控温降噪的玻璃,是不是也会一起难产呢。
所以有时候,为了那可有可无的浪漫与迷人,务必要先做好牺牲掉其它东西的准备。



评论