界面新闻logo
  • 首页
    • 科技
    • 金融
    • 证券
    • 地产
    • 汽车
    • 健康
    • 地方
    • 硬科技
    • 文旅
    • 数据
    • ESG
    • 双碳
    • 电厂
  • 商业
    • 科技
    • 地产
    • 汽车
    • 消费
    • 工业
    • 时尚
    • 交通
    • 医药
    • 互联网
    • 创投
    • 能源
    • 数码
    • 教育
    • 食品
    • 新能源
    • 家电
    • 健康
    • 酒业
    • 物流
    • 零售
    • 美妆
    • 体育
    • 楼市
    • 家居
    • 餐饮
    • 日用
    • 企服
    • 珠宝
    • 腕表
    • 智库
    • 电厂
    • 农业
    • 出海
  • 财经
    • 金融
    • 投资
    • 证券
    • IPO
    • 宏观
    • 股市
    • 财富
    • 有连云
  • 新闻
    • 天下
    • 中国
    • 地方
    • 评论
    • 数据
    • 职场
    • 国是
    • 文娱
    • 影像
    • 营销
    • 大湾区
    • ESG
    • 双碳
    • 长三角
    • 中西部
  • 文化生活
    • 文化
    • 文旅
    • 生活方式
    • 美食美酒
    • 艺术
    • 游戏
    • 正午
    • 箭厂
  • VIP
    • 投资早晚报
    • 宏观晚6点
    • 打新早报
    • 盘前机会前瞻
    • 盘中必读
    • 风口价值
    • 调研早知道
    • 研报新知
  • 快报
    • 今日热点
    • 公司头条
    • 股市前沿
    • 监管通报
    • 财经速览
    • 时事追踪
  • 界面号
    • 财经号
    • 城市号
    • 媒体号
  • 视频
    • 界面Vnews
    • 直播
    • 箭厂
    • 品牌创酷
    • 番茄社
    • 商业微史记
    • 胡说财经
  • 专题
    • 新闻专题
    • 活动专题
  • Global
登录
  • 消息
  • 我的面点
  • 我的关注
  • 我的文章
  • 投稿
  • 报料
  • 账号设置
  • 退出账号
旧版搜索
  • 新版搜索
  • 旧版搜索

历史搜索 全部删除

    热门搜索

      商业快报

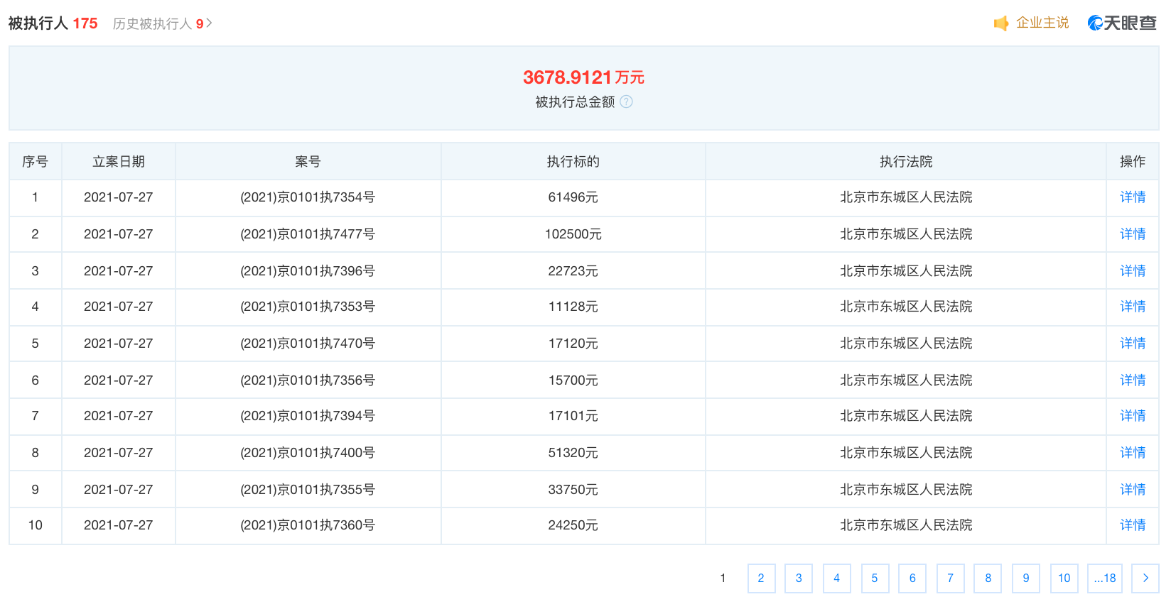
      蛋壳公寓七月份新增百余条被执行人信息

      界面快报 · 来源:界面新闻

      据天眼查APP显示,7月份以来,蛋壳公寓关联公司紫梧桐(北京)资产管理有限公司已新增百余条被执行人信息,执行法院包括北京市东城区人民法院、北京市门头沟区人民法院等,被执行标的千元至千万元不等。截至目前,该公司被执行总金额超3600万元。

      未经正式授权严禁转载本文,侵权必究。
      点赞
      收藏
      看评论
      分享至
      微博分享
      微信分享
      QQzone

      评论

      暂无评论哦,快来评价一下吧!
      热门排行May 09
      • 钱江摩托发声明否认围剿张雪机车,称对其赛事成绩感到骄傲自豪
      • “一人公司”落地广州:从场景验证到种子轮融资
      • 鸿蒙智行回应享界S9副驾折叠争议:网传视频场景未达到防夹功能触发阈值
      • 或为苹果造芯,英特尔大涨13.96%市值突破6000亿美元
      • 消息称小米注册多枚“寻天”商标替代YU9,或成独立汽车子品牌
      • 汽车早报|比亚迪“大唐”全系标配数字化激光雷达 本田2025财年预计将出现约4000亿日元营业亏损
      • 纳指标普连涨六周创新高,存储芯片股集体狂欢
      • 多平台优化算法:美团取消超时扣款,滴滴司机服务10小时强制下线6小时
      • 微信未读语音消息由红变灰,腾讯客服:该功能正在逐步开放中
      • 小米汽车高层调整,宋钢分管生产制造、于立国兼任海外筹备组长

      上海界面财联社科技股份有限公司 版权所有 © 2014-2026 JIEMIAN.COM

      • 关于我们
      • 联系我们
      • 广告合作
      • 注册协议
      • 投稿须知
      • 版权声明
      • 举报及处置