记者 |
在遵守交通规则的问题上,虽然大部分人都是以遵守的心态去执行,但总免不了偶尔分心或紧急情况而违反。不过,并不是每个城市的每个路口都会有监测司机行为的监控装置,因此,当前仍有不少“老司机”依靠“精湛的技艺”进行一些擦边球操作。
不过,一项以严谨著称的丰田汽车公司希望完全杜绝掉这种情况。最近,这家日本汽车制造商申请了一项专利,该专利描述了一个系统,其汽车将有摄像头,专门用于记录驾驶违规行为,并将其发送到服务器上,它们或将被执法部门查看。

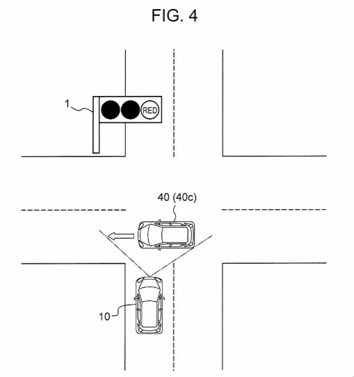
摘要描述上写道:“交通违规车辆识别系统包括路口的‘第一辆车’和一个服务器。‘第一辆车’被自动配置为通过拍摄迎面而来的车辆或交叉路口的车辆的行驶方向上的交通灯来生成第一张图片。”

然后,它将“向服务器发送违章车辆信息,包括进行交通违章的交通违章车辆的特征信息和第一张图片,当第一辆车在第一张图片中检测到交通违章车辆时,第一张发送图片是包括交通违章的证据图片的至少一部分,该特征信息是从第一张图片中提取的。”

也就是说,它会拍下你闯红灯的照片。
摘要指出,在每个十字路口安装交通摄像头将是一项巨大的基础设施投资。“该披露提供了一种技术,即使在没有安装固定摄像头的十字路口,也能发现交通违规车辆并获得识别交通违规车辆的证据。”这基本上听起来像是汽车在互相告密揭发。
从图片中,我们可以看到十字路口的车辆布局,以及该系统将如何工作。一方面,人们不喜欢肇事逃逸者。这项系统可以让执法者不必去追捕他们。但另一方面,如果人们打了转弯灯,在通过路口时并不是直行而是要右转,却因此被拍摄下来,即便最后可以通过“行政复议”之类的操作消除,但也是十分令人恼火的事。
需要注意的是,这项专利刚刚获得批准,而不是所有的专利最终都能成为成品。但几年后,如果你看到一辆闪着红色记录灯的丰田4Runner,它可能是在收集证据。



评论