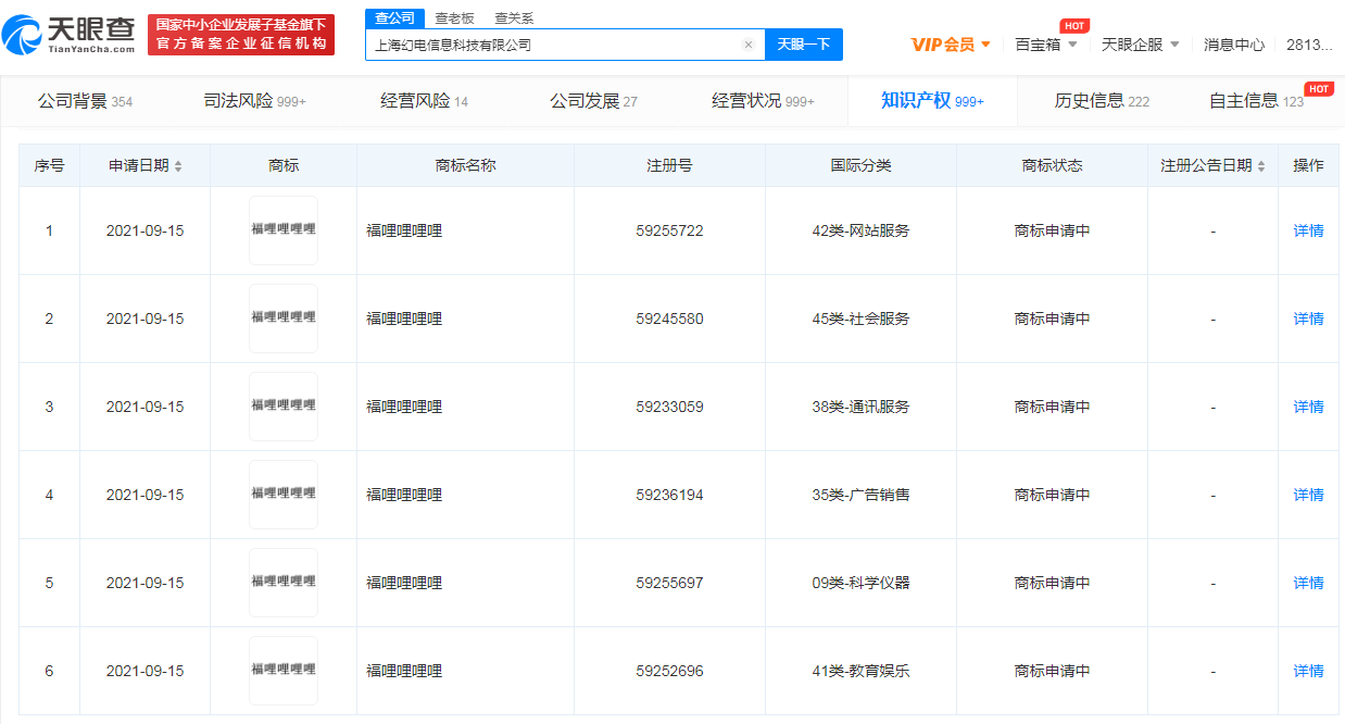
B站申请“福哩哩哩哩”商标,国际分类含通讯服务

据天眼查APP显示,9月15日,B站关联公司上海幻电信息科技有限公司申请注册多个“福哩哩哩哩”商标,国际分类涉及教育娱乐、通讯服务、广告销售等,目前商标状态均为申请中。

未经正式授权严禁转载本文,侵权必究。

哔哩哔哩

3.4k
  • 国产掌机品牌AYANEO:员工薪资发放一切正常,已就造谣事件报警
  • B站与总台春晚达成合作,直播春晚将开放真弹幕互动

评论

暂无评论哦,快来评价一下吧!