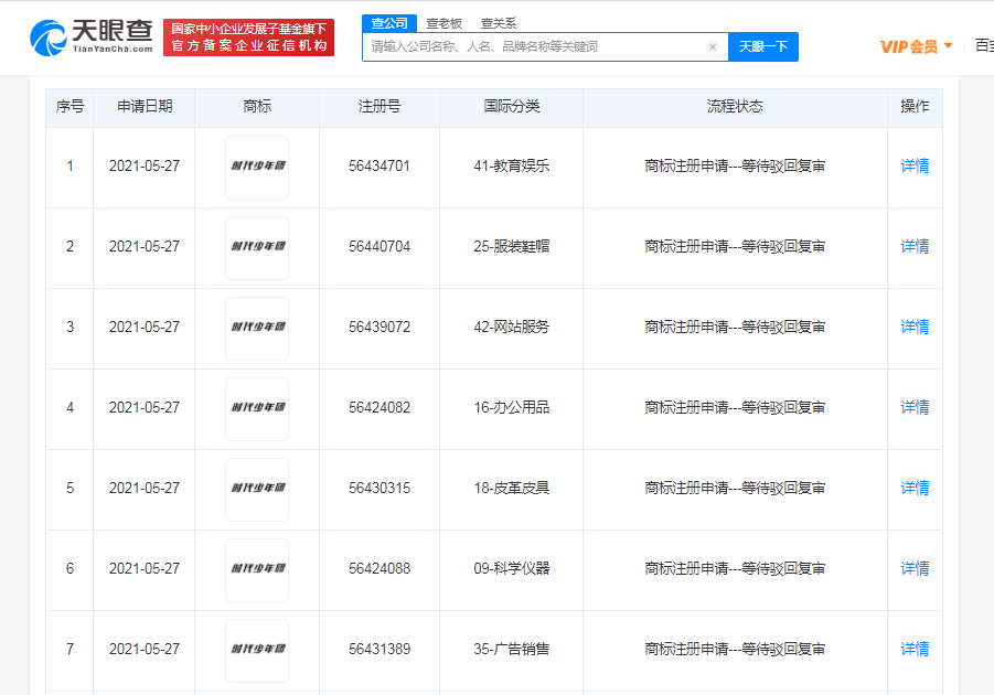
天眼查App显示,近日,北京时代峰峻文化艺术发展有限公司重庆分公司申请注册的多个“时代少年团”商标状态变更为等待驳回复审,相关商标申请于2021年5月,国际分类涉及通讯服务、科学仪器、服装鞋帽等。值得一提的是,乐娱星映娱乐有限公司于2021年1月申请的教育娱乐类“时代少年团”商标状态已完成注册。

来源:界面新闻
天眼查App显示,近日,北京时代峰峻文化艺术发展有限公司重庆分公司申请注册的多个“时代少年团”商标状态变更为等待驳回复审,相关商标申请于2021年5月,国际分类涉及通讯服务、科学仪器、服装鞋帽等。值得一提的是,乐娱星映娱乐有限公司于2021年1月申请的教育娱乐类“时代少年团”商标状态已完成注册。

评论