文|雷达财经 吴艳蕊
编辑|深海
疫情发生以来,奔驰车主断供激增。
天眼查资料显示,梅赛德斯-奔驰租赁有限公司(下称“奔驰租赁”)赁隶属梅赛德斯-奔驰金融服务,是梅赛德斯-奔驰品牌汽车和戴姆勒汽车在中国最大的汽车租赁解决方案提供商。专注为租赁客户和车队客户提供全方位专属服务。梅赛德斯-奔驰租赁有限公司提供多种灵活的金融方案,既有经营租赁方案,又有租赁与融资形式相结合的“先享后选-弹性购车新方案”,还可以将车辆购置税、汽车保险、车辆上牌费用以及维护修养套餐纳入奔驰租赁的一站式租赁解决方案之中。
根据天眼查统计,自2014年以来,奔驰租赁的年度涉案信息中稳步上升。2014至2019年,奔驰租赁的年度涉案次数分别为9、20、81、114、108、142。2020年该数值上升到了318,较2019年增长了123.94%。2021年,奔驰租赁的涉案数量同比增长269.50%,达1175件。2022年截至目前,公司的涉案数量已达831件,已超2020年全年。

在奔驰租赁的案由统计中,融资租赁合同纠纷达1963件,远超其他案件,占公司全部案件的比例达70.03%。
雷达财经梳理发现,在全部案件进展中,首次执行达1083件。其中2020年至今共计1020件。这意味着,疫情以来至少已有超千位奔驰“车主”成为被执行人。
在被执行案件中,黄某的经历具有典型性。2021年6月江苏省南通市崇川区人民法院对黄某、奔驰租赁融资租赁合同纠纷作出民事一审判决。
经审查,法院认定2019年6月1日,被告人黄某作为买方与一家汽车销售公司作为卖方签订汽车销售合同,约定黄某向该公司购买价款为249008元的赛德斯-奔驰牌车辆。2019年6月20日,原告奔驰租赁公司作为甲方与黄某作为乙方签订融资租赁与保证合同,乙方同意按照本合同的规定,将乙方已从卖方处购买的车辆销售给甲方,并在销售后向甲方租赁车辆。甲方同意从乙方处购买车辆,并将车辆回租给乙方使用。
上述租赁合同的租金共计284699.41元,租赁期限为48个月,首期租金3585.16元,每期租金3585.16元,尾款112611.73元。如果甲方未按期足额收到每期租金、尾款及其他应付款项,甲方有权要求乙方就逾期期间的逾期付款金额支付滞纳金。自逾期之日起,每日的滞纳金为逾期付款额的万分之五。
在签订融资租赁合同的同时,奔驰租赁与黄某还签订了抵押合同,约定为确保案涉融资租赁与保证合同项下黄某义务的履行,黄某自愿将案涉车辆设定抵押。2019年6月24日,双方办理了案涉车辆的抵押登记手续。
上述合同签订后,奔驰租赁于2019年6月26日向汽车销售公司转账支付245422.84元(已扣除黄某支付的首期租金3585.16元)。黄某足额支付了前14期租金,第15期租金仅支付198.03元。截至2020年8月14日,共支付租金50390.27元,之后未再支付租金。
黄某自2020年8月29日开始拖欠租金,奔驰租赁未经催告直接向法院提起诉讼,法院将起诉状副本于2021年4月25日送达黄某视为催告。法院认为奔驰租赁主张每日万分之五支付滞纳金合法有据,经计算至2021年5月10日的滞纳费为2106.23元。
此次案件黄某经法院传票呼唤,无正当理由未到庭参加诉讼,视为对其诉讼权利的放弃。法院依据查明的事实最终判决,判决如下:一、被告黄某应于本判决发生法律效力之日起十日内向原告梅赛德斯-奔驰租赁有限公司支付剩余租金234309.14元。二、被告黄某应于本判决发生法律效力之日起十日内向原告梅赛德斯-奔驰租赁有限公司支付滞纳金2106.23元(截至2021年5月10日,2021年5月11日起至实际给付之日止,以234309.14元为基数,按日万分之五计算)。三、被告黄某应于本判决发生法律效力之日起十日内向原告奔驰租赁支付律师费12000元。四、如被告黄某不履行上述判决确定的义务,原告奔驰租赁有权以被告黄某设定抵押的梅赛德斯-奔驰牌车辆拍卖、变卖所得的价款优先受偿。此次案件受理费5008元,减半收取计2504元,由被告黄某负担。
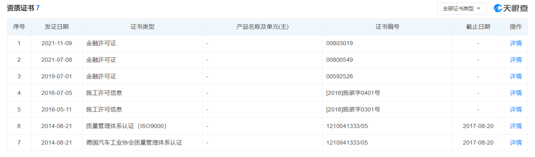
值得注意的是,在天眼查的资料中,奔驰租赁没有任何资质信息,而梅赛德斯-奔驰汽车金融有限公司(下称“奔驰金融”)拥有金融许可证等7项资质证书。

从股权来看,两家公司不具有直接持股关系。天眼查资料显示,奔驰租赁成立于2012年,实缴资本达50.98亿元。公司由戴姆勒大中国区投资有限公司持股65%、北京汽车股份有限公司持股(下称“北京汽车”)35%。截至2021年12月31日,戴姆勒股份公司持有北京汽车7.66亿股股份,占总股本的9.55%,为北京汽车第三大股东。奔驰金融公司成立于2005年9月,公司实缴资本69.83亿元。戴姆勒股份公司持有其52.2%的股份,戴姆勒大中华区投资有限公司持有另外47.8%的股份。奔驰金融的注册地址与奔驰租赁的注册地址位于同一幢大楼内,仅楼层不同。
与奔驰租赁不同,奔驰金融的相关司法案件中,金融借款合同纠纷位列案由统计第一。在相关案件的审理程序中,首次执行的达972件。其中案件日期在2020年的有148条,2021年的有188条,2022年的有91条。
在奔驰金融的金融借款合同纠纷中,张某的经历具有典型性。2022年2月湖南省邵阳市中级人民法院作出了奔驰金融、张某民间借贷纠纷民事二审判决书。
经一审法院认定,2020年1月15日,张某与奔驰金融签订了《汽车贷款抵押合同》,合同约定:张某因购买奔驰汽车需要向奔驰金融贷款人民币223900元,贷款期限36个月,补贴前年利率11.73%,补贴后年利率5.99%,如产生逾期,则按补贴前年利率*150%计算逾期利息。
2020年1月16日,奔驰金融依约向张某指定的经销商发放贷款223900元,张某因此取得了车牌号为湘E6××**的奔驰汽车,并于2020年02月14日办理了抵押登记,抵押权人为奔驰金融。
根据约定,张某应于2020年02月16日起至2023年01月16日,每月按时偿还贷款本息。但自2021年5月16日起,张某出现贷款逾期,经奔驰金融多次催告,张某仍未履行约定清偿款项。依据约定,奔驰金融有权宣布该合同项下的全部贷款本息提前到期,故至2021年5月16日止,张某共欠奔驰公司本金135458.26元及利息676.16元。经催收未果,奔驰金融诉诸法院酿成本案纠纷。
最终二审法院判决,一、由张某在判决生效之日起十五日内偿还奔驰公司借款本金135458.26元及利息676.16元并支付自2021年5月17日起至本金还清之日的利息(以未偿还部分本金为基数,按年利率15.4%计算);二、由张某在判决生效之日起十五日内支付奔驰金融支付的律师代理费12000元;三、梅赛德斯—奔驰汽车金融有限公司对张某名下车牌号为湘E6××**梅赛德斯奔驰汽车拍卖、变卖或折价所得价款在上述第一、二项确认的款项范围内享有优先受偿权。二审判决书最后提及,本案案件受理费6040元,一审案件受理费2791元,由张某负担,二审案件受理费3249元,由张某负担。
*雷达财经(ID:leidacj)


评论