文|连线出行 周雄飞
宁德时代,近期陷入动荡之中。
本周二,宁德时代发布公告称其副董事长、副总经理黄世霖因个人事业考虑将辞去公司副董事长等管理职务,宁德时代原总经理周佳将会接任副董事长职务,而作为宁德时代创始人的曾毓群将担任宁德时代总经理职务。

宁德时代就黄世霖辞职发出公告,截图自公告
这一消息被众多媒体报道后,迅速成为了业内关注的焦点事件,这不仅因为黄世霖是宁德时代管理层的二号人物,更是因为像这样剧烈的管理层动荡在宁德时代发展历史中还不曾出现过。
屋漏偏逢连夜雨。在上月底于四川宜宾举办的2022世界动力电池大会上,广汽集团董事长曾庆洪当着在场同行的面,带着吐槽的意味表示“自己是在为宁德时代打工”,并把不赚钱的锅甩给了宁德时代。
如果说这些是宁德时代面临的“近忧”,在外部竞争方面,宁德时代则长期面临挑战。
去年7月,宁德时代向中创新航(原中航锂电)突然发起起诉,缘由是因为前者认为后者专利侵权,殊不知这场诉讼战一打就打了一年之久,而在本月初宁德时代再次向中创新航提起专利诉讼。
宁德时代盯上的对手不仅有中创新航,还有蜂巢能源。今年2月,宁德时代对蜂巢能源提起诉讼,案由是前者认为后者违规雇佣员工,涉嫌不正当竞争。
就在向同行发起诉讼的同时,宁德时代也在频频推出新产品和新业务。
今年6月底,宁德时代用一段仅有4分钟的宣传片,向全行业发布了旗下第三代CTP(Cell To Pack,无模组电池)技术,并发布了基于这一技术的产品“麒麟电池”。需要注意的是,就在这一新电池技术发布时,宁德时代将其与特斯拉的4680电池进行了对标。
麒麟电池推出不久后,在今年的重庆车展上,曾毓群还透露了宁德时代的研发进程,表示除了固态和半固态电池,就连很多人没听过的凝聚态电池,宁德时代也在研发。
除了推出电池技术之外,宁德时代还在今年2月高调推出了旗下换电服务品牌“EVOGO”(乐行换电),这也意味着宁德时代正式以动力电池供应商的身份入局换电赛道。
由此,无论是管理层动荡,还是频繁起诉行业玩家和向行业“亮肌肉”,都被业内视为宁德时代已陷入焦虑之中。而这些焦虑的源头,或许来自于其已经感受到了“高处不胜寒”。
1、宁德时代的近忧:“二把手”离职、车企不满加剧
黄世霖的离职,对宁德时代有较大的影响。
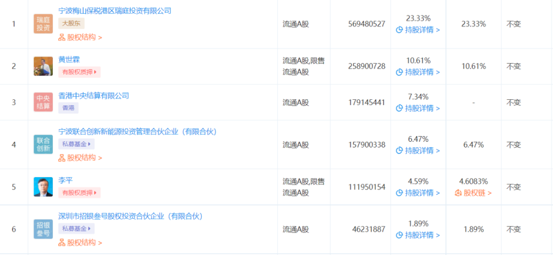
按照宁德时代发布的公告显示,黄世霖个人总共持有宁德时代258900728股股份,占总股份的10.61%;同时包括通怡景云5号私募证券投资基金等黄世霖一致行动人共计持有宁德时代1999999股股份,占总股本的0.08%。
换句话说,黄世霖及其一致行动人共持有宁德时代10.69%的股份,是仅次于大股东宁波梅山保税港区瑞庭投资有限公司之后宁德时代的第二大股东。
根据相关规定,黄世霖在辞职半年后不能转让宁德时代的股份,并且在就职确定的任期内(2021年12月30日至2024年12月29日)每年转让的股份不得超过其所持宁德时代股份总数的25%。这就意味着,黄世霖辞职后,在未来一段时间内,他还会是宁德时代的股东之一。

宁德时代部分股东信息,截图自企查查
除了是重要股东之外,黄世霖还是宁德时代的创始人之一。
从黄世霖的履历来看,其从2000年开始就已经开始从事与电池及其管理系统的研发和产业化工作。八年后,在黄世霖的带头下,其团队成功开发了具有自主知识产权的动力电池管理系统(BMS),具备高效率、低成本等优点。
由于在电池行业浸润许久,黄世霖在2011年看到了一个机会——彼时国家开始大力推行新能源汽车的普及,于是在当年他和曾毓群一起踏入了动力电池这个赛道,并创办了宁德时代。
宁德时代创立后,黄世霖基于此前的工作经历,一度成为了负责宁德时代电池控制系统的灵魂人物。
目前,按照宁德时代的公告显示,黄世霖的辞职申请已经得到了宁德时代董事会的批准,该辞职已从本月1日正式生效。公告同时表示,黄世霖辞职不会对公司的生产经营产生不利影响,不会导致公司董事会成员低于法定最低人数,不会影响公司董事会的正常运作。
这是因为在黄世霖提交辞职报告后,宁德时代就确认了原公司总经理周佳将会接替前者的职位,出任第三届董事会副董事长;而曾毓群则会担任公司总经理,意味着其将亲自抓公司的主要业务。
就在黄世霖这样的公司元老离开宁德时代的前后脚,一些车企的大佬也开始对宁德时代表达不满。
上月21日,来自全球189家动力电池产业链企业和92家新能源汽车产业链企业的掌门人,共同现身四川宜宾来参加2022年世界动力电池大会。也就是这场原本是行业交流为主旨的会议,却成了车企大佬“吐苦水”的现场直播。
在会议上,广汽集团董事长曾庆洪当着数百位同行的面,毫不留情地对电池供应商们进行了一番吐槽,在他看来目前动力电池的成本依旧占据新能源汽车的40%乃至60%,并且还在不断增加,由于电池成本的增加,导致了众多整车厂不赚钱。
说罢这些,曾庆洪将矛头对准了宁德时代,表示“自己做车企,感觉就是在为宁德时代打工”,并表示希望国家层面可以加强对电池行业的监督和引导。
此言一出,很快就引发了会场内众多大佬的广泛讨论,而对于奇瑞汽车董事长尹同跃,或许也对曾庆洪的建议感同身受,虽然没有在会场发表讲话,但会后也在其朋友圈中转发了相关新闻,低调地“声援”了一波曾庆洪。
面对车圈大佬们的吐槽,坐在会场中的曾毓群也坐不住了。
随即曾毓群上台发表了他的看法。在他看来,并不愿意为车企不赚钱“背锅”,因为他认为上游材料涨价才会导致电池厂商成本随之增长,且矿产资源还不是“元凶,资本炒作才是电池原材料上涨的真正原因。
不可否认,随着新能源汽车行业的发展,被视为车辆“心脏”的动力电池重要性被抬到更高的位置上,基于此上游的电池厂商相比于下游车企,在整条产业链中就更有话语权和决定权。
随着去年初开始整个新能源汽车行业中“电池荒”的蔓延,让动力电池厂商的地位再次提高一些,由此才会在去年传出小鹏汽车CEO何小鹏为了拿到电池资源,不得不在宁德时代驻守一周“蹲点”的传言。
在这样的不平等下,车企主机厂与上游电池供应商们之间就逐渐产生了矛盾和隔阂。虽然在此前的很长时间内,车企与电池厂商的矛盾一直存在,但没有真正显露出来。
直到此次的世界动力电池大会,下游车企和上游动力电池供应商的矛盾第一次被赤裸裸地暴露在公众面前。
从车企大佬公开对宁德时代吐槽、到公司内部高层的突然变动,以至于让宁德时代近期都处于风口浪尖上。也就在这样的节点上,宁德时代宣布曾毓群将担任公司总经理一职,亲自抓公司的主要业务,此举在业内看来或许反映了曾毓群对宁德时代目前现状的焦虑。
然而,曾毓群和宁德时代并不是近期才感到焦虑,而是已由来已久。
2、“狙击”同行,大哥也焦虑?
宁德时代与中创新航的专利战,还在进一步升级。
本月初,据相关媒体报道,宁德时代再次向中创新航发起专利侵权诉讼,索赔金额达到1.3亿元,与此同时,宁德时代还以不正当竞争为由,向法院起诉中创新航,目前福建省高院已受理该案件。
此起诉消息一经媒体传播后,一度成为了行业内外关注的焦点,因为这已不是宁德时代首次起诉中创新航。
去年7月,宁德时代开始向中创新航发起诉讼,起诉原因是前者认为后者涉嫌在动力电池发明与实用新型专利上侵权,同时涉嫌侵权的动力电池技术已搭载在数万辆车辆上。
作为此案件另一当事方的中创新航,也迅速回击。官方表示,坚持自主研发,提供给客户的产品都已经过专业知识产权风险调查,确信所生产的产品不侵犯他人的知识产权。

中创新航对于宁德时代起诉的回应,图源截图自中航锂电(中创新航前用名)官方公众号
面对这一回应,宁德时代选择继续上诉。据连线出行获悉,其从去年7月开始到10月,相继向福建省福州市中级法院提起诉讼申请,起诉中创新航涉嫌侵犯其5项专利,侵权范围覆盖其全系产品,并要求中创新航立即停止侵权,另支付损害赔偿金1.85亿元和法律成本300万元。
再到今年5月,宁德时代又向法院申请,提高上述诉讼赔偿金额至5.18亿元。如果加上本月的1.3亿元索赔费用,宁德时代与中创新航的专利诉讼索赔金额已达到6.48亿元。
这一金额已是中创新航2021年净利润1.12亿元的5.8倍,由此宁德时代向中创新航的诉讼案已成为目前国内新能源领域中专利侵权诉讼索赔金额第一案。
实际上,宁德时代在与中创新航缠斗的同时,它还盯上了同为动力电池厂商的蜂巢能源。
今年2月,宁德时代对蜂巢能源提起诉讼,案由为不正当竞争。根据多份法院判决书显示,2018年至2019年间,九位宁德时代员工在离职后,分别加入无锡天宏和保定亿新,为宁德时代的竞争对手蜂巢能源提供服务。

宁德时代起诉蜂巢能源开庭公告,截图自企查查
在宁德时代看来,这九人违反了与其签订的《保密和竞业限制协议》(下称竞业协议),因此要求他们赔偿违约金100万元。
相比于宁德时代与中创新航还没有结果的起诉案,前者与蜂巢能源的纠纷得以很快解决。今年7月,在福建省宁德市中级人民法院主持下,宁德时代与蜂巢能源达成和解,后者向前者支付和解款人民币500万元整。
“宁德时代起诉中创新航专利侵权,起诉蜂巢能源不正当竞争,看似是一种法律上的进攻,但实质上更是宁德时代为了维护自身在行业中优势地位,通过打压同行这一方式来进行防守。”国内头部动力电池厂商研发经理刘明对连线出行表示。
除了起诉同行之外,宁德时代也频繁地向外界“亮肌肉”。
去年7月,宁德时代发布钠离子电池,据其官方介绍,这一新电池技术虽然在能量密度方面略低于磷酸铁锂电池,但却具有低温性能和快充明显优势,常温充电15分钟达到80%电量。按照宁德时代规划,这一电池技术预计2023年形成基本产业链。
到了今年,宁德时代在电池技术的新动作更加频繁。今年1月,宁德时代通过一场发布会,推出了自家的换电品牌“EVOGO”(乐行换电),以及由“巧克力”换电块、快换站和APP组合构成的整体解决方案。
其中,被命名为“巧克力”的换电块,是采用了宁德时代最新CTP技术研发的电池组,具有小而高能,自由组合,极简设计三大特点。连线出行在《特斯拉、蔚来遇到的“换电难题”,宁德时代能解吗?》一文中对此进行过详细描述。
在彼时业内看来,宁德时代通过此举也向外界透露了一个信号——其正式以动力电池供应商的身份入局换电赛道。
5个月后,宁德时代通过一段4分钟的视频发布了旗下的新一代电池技术——麒麟电池。据其官方介绍,麒麟电池体积利用率突破了72%,能量密度可达到255Wh/kg,理论上可使车辆续航实现1000公里。

宁德时代发布麒麟电池,截图自宁德时代官微
介绍完这些后,或许是为了体现这一电池技术的先进,还补充了一句“同等电池包尺寸下,麒麟电池电量比4680系统提升了13%”,暗暗地与特斯拉4680电池对标了一波。
殊不知,就在业内还在进一步了解麒麟电池之时,在当月的重庆车展上,曾毓群除了为与华为、长安汽车联合打造的阿维塔11竖起大拇指外,还向外界透露了一个新消息——除了全固态电池和半固态电池,业内没有听过的凝聚态电池,宁德时代都在搞。
到了近日,据晚点LatePost报道,宁德时代将在今年第四季度向特斯拉供应M3P电池,搭载在使用72度电池包的Model Y车型中。对于M3P电池,宁德时代于上月就已宣布已经量产,其能量密度高于磷酸铁锂,成本优于三元电池。
无论是向中创新航和蜂巢能源发起诉讼,还是向外界发布麒麟电池、亦或者是高调进军换电赛道,在刘明看来,宁德时代之所以会在近两年频繁做出这些动作,都是为了向外界展现自身的实力,而这背后或许更是在排解自身处于困境中的焦虑。
3、被抢走的客户,难增长的市占率
被称为“宁王”的宁德时代,目前的压力不小。
上月初,中国汽车动力电池产业创新联盟公布了今年1-6月国内动力电池厂商装机量排名数据,其中宁德时代以52.5GWh的装机量排名第一,比亚迪、中创新航、国轩高科和LG化学以23.78GWh、8.25GWh、5.52GWh和3.14GWh分别位列二至五位。
如果单从装机量来看,宁德时代依然以较大的优势稳坐国内动力电池赛道的“头把交椅”。但若从市场占有率方面来看,宁德时代的优势却在慢慢减弱。
根据数据显示,2022年上半年宁德时代虽然实现了47.57%的市场占有率,但相比于去年同期49.10%的市占率减少了1.53%;反观其身后的比亚迪和中创新航,两者的市占率从2021年同期的14.60%和6.90%,增长到今年上半年的21.59%和7.58%。
除了比亚迪和中创新航之外,比如被视为动力电池二梯队玩家的蜂巢能源、亿纬锂能和孚能科技都在今年上半年实现了市占率的增长。这就意味着,相比于其他玩家的增长,宁德时代在动力电池行业的市占率正在下滑。

2022年1-6月国内动力电池厂商市场占有率排名及2021年同期占有率,数据来源于中国汽车动力电池产业创新联盟,连线出行制图
其实,像这样的趋势,从去年就已显现。据高工产业研究院(GGII)发布的数据显示,去年全年宁德时代以69.33GWh的装机量和49.53%的市占率占据国内动力电池厂商装机量排名的首位,但相比于2020年其50%的市占率却减少了0.47%。
相较之下,比亚迪、中创新航等玩家去年全年的装机量比2020年同期装机量都有一定的增长。比如比亚迪从2020年的14.9%增长到2021年的16.83%,而中创新航则从5.6%来到6.14%。
出现这样的现象,也不意外。因为对于很多车企而言,宁德时代已不是动力电池的唯一供货商。
广汽集团成为率先“抛弃”宁德时代的车企。据电车汇等媒体报道,广汽乘用车旗下新能源汽车品牌广汽埃安从去年开始,已经连续12个月未申报搭载宁德时代电池的车型,电池供应商名单中却有中创新航的名字。
对于这点,从宁德时代去年的供应客户名单中也可以看到。一直以来,广汽乘用车都是宁德时代的大客户之一,但据北极星储能网数据显示,宁德时代2021年供货客户名单前十位中,可以看到特斯拉、蔚来和小鹏等车企,但广汽乘用车并不存在。
抛弃宁德时代后,广汽乘用车选择了中创新航作为自己的动力电池主要供应商,根据高工产业研究院数据显示,去年全年中创新航为广汽乘用车提供了5.34GWh的装机量,凭借这一装机量广汽乘用车也成为中创新航的最大客户。
或许正因有了替代的选择,才让曾庆洪有底气公开对宁德时代进行吐槽。
与广汽乘用车相似的是,小鹏汽车和蔚来也曾是宁德时代的重要客户,但到了去年底,据36氪报道,前者正在计划引入新的主力电池供应商,来削减对宁德时代的依赖,而它选择的厂商同样是中创新航。
对于蔚来而言,旗下的ES8、ES6和EC6等主力车型搭载的都是宁德时代的电池,但随着ET7车型于今年开始交付,其也开始远离宁德时代,取而代之在今年3月与卫蓝新能源达成合作,后者将会为ET7推出150度的半固态电池包。
此外,大众汽车除了选择宁德时代之外,还向国轩高科进行投资并成为了其最大股东;梅赛德斯-奔驰集团也斥资9.05亿元入股孚能科技并签署战略供应协议;而在今年3月,上汽集团、广汽集团和“蔚小理”还联合投资了欣旺达。
基于这些“外患”的存在,不仅威胁了宁德时代在行业中的优势地位,同时也进一步阻碍了其自身的发展。
今年5月初,宁德时代发布了其2022年第一季度的财务数据,数据显示其第一季度营收实现为486.78亿元,同比增长153.97%。
相比于营收的增长,其净利润的表现并不乐观。据数据显示,其今年第一季度净利润录得为14.93亿元,相较于去年同期同比下滑23.62%,这也是宁德时代自2018年6月上市以来,首个净利润同比下滑的季度。

宁德时代2022年第一季度部分财务数据,截图自财报
这就说明,宁德时代在今年第一季度处于“增收不增利”的困境之中,与此同时,其毛利率的表现也处于颓势中。
按照财报数据,宁德时代今年第一季度的整体毛利率仅实现为14.48%,这一毛利率也成为其近几年中最差的季度表现,其此前的毛利率基本都保持在20%以上的水平。
基于车企纷纷逃离和行业竞争加剧的“外患”,再加上本身盈利能力减弱的“内忧”下,可见宁德时代目前已处于较大的困境中。
可以预见的是,在之后的日子里,宁德时代或许会继续推出新产品和新业务,努力维持自己的优势,但一枝独秀的日子将一去不复返,它将面临更加激烈的竞争,焦虑也将会是常态。
(文中刘明为化名。)


评论