文|杠杆游戏 张银银
编辑|欣欣然
两位重量级的行业巨头这两天被传大消息,估计很多杆友都已听说。
2023年8月1日,据雪豹财经社报道,京东近期正与永辉接洽收购事宜,双方进行了至少一轮初步沟通,暂未达成一致。
目前,京东倾向于全资收购,且表现得较为强势,目的是得到永辉的实际控制权。永辉创始人兼董事长张轩松则更倾向于接受京东的纯财务投资,不想将自己20多年的心血完全交予他人。
对此,京东方面回复相当迅速,说“目前没有这个意向”。永辉方面则截至杠杆游戏发稿,尚未有公开回应发出。此前界面新闻就此向永辉超市相关负责人求证,对方表示不回应。
1、永辉的落寞
在昨天(8月1日),杠杆游戏刚看到这个消息时,好像也不觉得意外,实话说直到京东回应之后,我还是认为后续不无进展可能。
为啥呢?
先说永辉超市这边,作为曾经的大白马,这2年活得似乎有点憋屈,这从下图的股价走势里可以窥见一二。

截图来源|东方财富(特此感谢)
股价下跌、市值缩水,和永辉超市这两年的业绩迅速下滑不无关系。
2021年之前,永辉超市可谓顺风顺水:一直保持营收净利润稳健增长,并领跑其他连锁超市企业。
转折出现在2021年。从进入2021年开始,永辉超市的业绩就一直处于相对低迷的状态,特别是在2021年上半年,净亏损达到10.83亿元,为该司自2010年A股上市以来的首次巨亏。
2022年情况也不太妙。营收依然在下滑,同比降了1.07%,亏损也在继续,当年归属净利润为-27.63亿元,同比增长29.94%。

截图来源|东方财富(特此感谢)
2023年,情况稍微有所好转,扭亏为盈了。据永辉超市此前披露,该司今年上半年归属于上市公司股东的净利润3.9亿元,与上年同期的-1.1 亿元相比增加 5.0 亿元。预计归属于上市公司股东扣非净利润1.0亿元,同比增加0.1亿元。
永辉称,上半年扭亏为盈的主要原因是积极推动门店调优、关闭部分长期亏损门店,推进数字化,内部通过考核及宣导实现降本增效;非经常性损益方面,主要由于政府补助、资产处置收益、公允价值变动等因素。
前两年永辉的业绩下滑或许与疫情黑天鹅有关,今年上半年好转应该也与黑天鹅逐渐散去有关。综上来看,永辉超市能否实现逐步回稳,目前仍存不确定性。
2、减持与回购
业绩震荡的另一边,永辉超市的管理层并不安分。
永辉超市创始人张轩松1971年生,福建福州人,高中还未毕业就弃学从商。最开始张轩松从事啤酒代理、批发,后来进入超市行业。
永辉超市的前身是古乐微利超市,就是张轩松在1995年创立。
早期,古乐微利超市以低于市场的零售价格迅速抢占市场,加上以生鲜为主打的经营定位,从而在国际商超巨头的环伺下杀出一条血路。
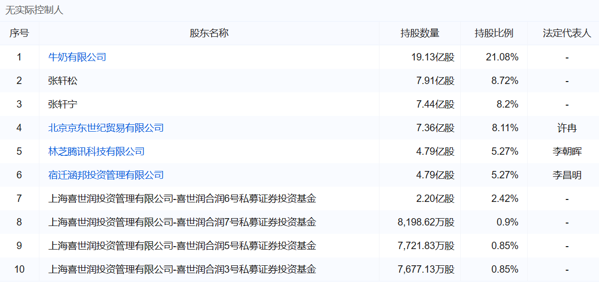
然而,从2021年开始,张轩松开始接连转让、减持永辉超市股份。
比如据中国基金报消息,这几年张轩松将大量股份转让给上海喜世润投资管理有限公司管理的喜世润合润私募基金产品,并与喜世润合润私募基金签订一致行动人协议。
从A股市场此前的相关案例来看,此类大股东将所持股份转让给私募基金的行为,可以说是一种变相减持。一段时间后,转让方解除与私募基金的一致行动人协议,则受让的私募基金在减持所持股份时,就可悄悄减持而不用公告。
2022年5月26日,张轩松则通过大宗交易减持公司1.98%股份,目的是为了降低个人负债及减少财务费用;
2023年2月14日,张轩松拟在未来半年内,再次减持不超过1%股份,原因同样为归还个人借款。
2020年底,张轩松持股还有14.79%,到2023年1季度降为8.72%,总计减持6.07%股份。

有意思的是,重要股东一边减持,永辉超市则一边公告说进行股份回购。
7月28日,该司还披露了回购实施结果,称公司完成回购,已实际回购股份约1.5亿股,占该司总股本的1.65%,回购最高价格3.54元/股,最低价格2.86元/股,均价3.2元/股,使用资金总额约4.89亿元……
3、京东“求变”
再来看看京东。在杠杆游戏印象里,这两年的京东大动作不断,也处在一个深度变革期。
公司内部管理、战略层面的动作暂不多言,最重点的大概就是刘强东“回归”,伴随着的则是一系列的调整。
这背后的数据是:最新一季度财报显示,京东营收同比增长1.4%,大幅落后拼多多同期58%的增速,也落后阿里2%的增速。
在消费全面复苏的2023年,京东却交出了一份四年来最差的1季度增速数据。这意味着什么?
此前的7月末,京东社区团购业务“京喜拼拼”发布品牌升级公告。自7月27日起,京喜拼拼将正式更名为京东拼拼。
品牌升级的另一边,这块业务的团队扩张也在同步进行。从招聘网站可以看到,京东在招聘这方面的相关人才。

资本市场方面,2020年、2021年,京东旗下接连在香港上市2家公司:京东健康、京东物流,达达。其中达达也是京东于2016年收购而来。
2022年,京东物流还完成了对德邦的收购,交易完成后,德邦控股相关方向京东方面合计共转让德邦控股超过50%股本权益,德邦控股成为京东集团的附属公司。
根据此前的披露,这次京东物流收购了德邦控股99.99%的股本权益,斥资约89.76亿元。
之于永辉超市,京东此前本来也就是前十大股东。早在2015年,永辉超市与京东签署战略合作框架协议,合作探索零售金融服务。

截图来源|东方财富(特此感谢)
此后经过一系列的增持,京东系在永辉超市的累计持股达到了13.38%。
综上,“憋屈”的永辉遇上“变革”的京东,让这场目前被辟谣的收购,传播可信度增加不少。不过雪豹财经社也说了,目前双方仍在拉扯,尚未达成一致。似乎和京东方面的回应也并不冲突?谁知道后面会如何发展呢……
本文未标注出处的财务图表,均源自企业有关公告,特此说明并致谢


评论