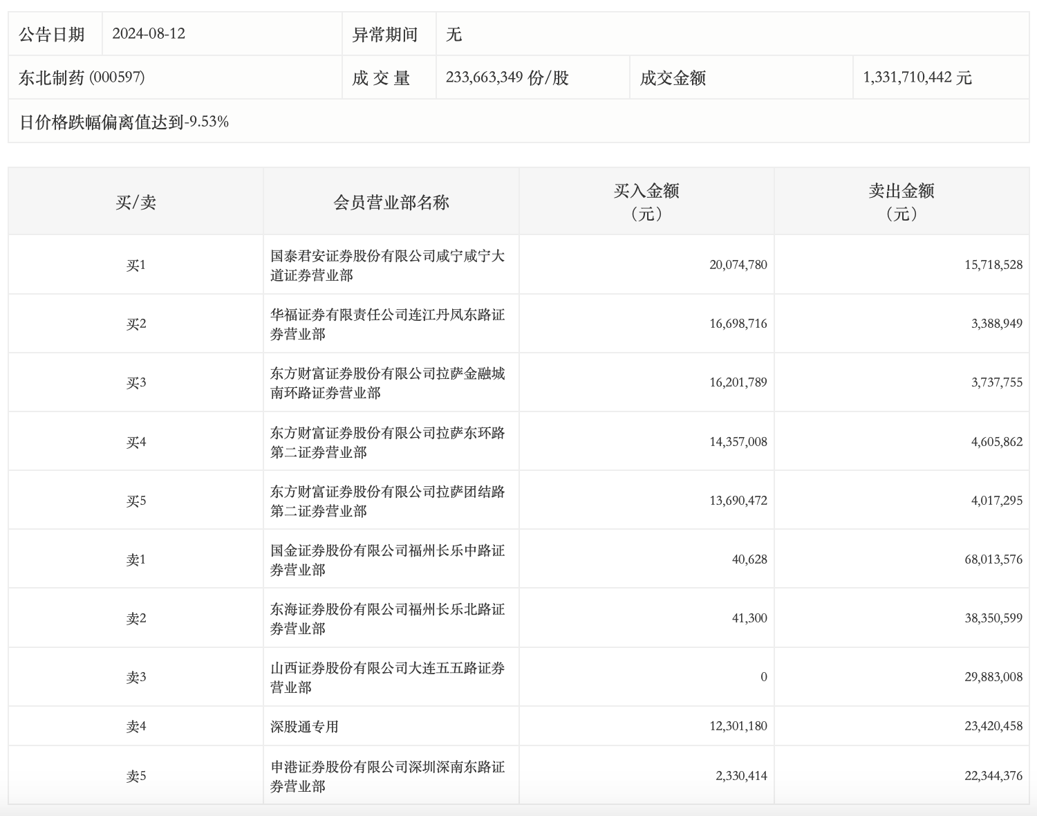
8月12日,东北制药今日跌停,龙虎榜数据显示,上榜营业部席位全天成交3.09亿元,占当日总成交金额比例为23.22%。其中,买入金额为9573.63万元,卖出金额为2.13亿元,合计净卖出1.18亿元。
具体来看,国金证券福州长乐中路证券营业部、东海证券福州长乐北路证券营业部分别卖出6801.36万元、3835.06万元;国泰君安证券咸宁咸宁大道证券营业部、华福证券连江丹凤东路证券营业部分别买入2007.48万元、1669.87万元。

来源:界面新闻
8月12日,东北制药今日跌停,龙虎榜数据显示,上榜营业部席位全天成交3.09亿元,占当日总成交金额比例为23.22%。其中,买入金额为9573.63万元,卖出金额为2.13亿元,合计净卖出1.18亿元。
具体来看,国金证券福州长乐中路证券营业部、东海证券福州长乐北路证券营业部分别卖出6801.36万元、3835.06万元;国泰君安证券咸宁咸宁大道证券营业部、华福证券连江丹凤东路证券营业部分别买入2007.48万元、1669.87万元。

评论