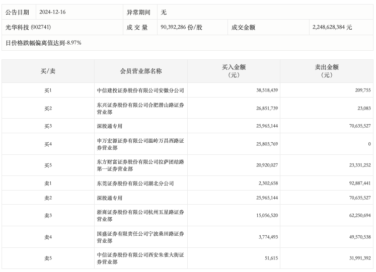
12月16日,光华科技今日跌停,龙虎榜数据显示,上榜营业部席位全天成交4.9亿元,占当日总成交金额比例为21.8%。其中,买入金额为1.59亿元,卖出金额为3.31亿元,合计净卖出1.72亿元。
具体来看,知名游资现身龙虎榜,方新侠(中信证券股份有限公司西安朱雀大街证券营业部)净卖出3193.98万元、宁波桑田路(国盛证券有限责任公司宁波桑田路证券营业部)净卖出4579.60万元。此外,东莞证券湖北分公司、深股通专用分别卖出9288.74万元、7063.55万元;中信建投证券安徽分公司、东兴证券合肥潜山路证券营业部分别买入3851.84万元、2685.17万元。

评论