记者 |
去年5月份,马自达就公布,未来将打造直列6缸发动机,包括一台Skyactiv-X汽油机和一台第二代Skyactiv-D柴油机。这项计划眼下有了实质性进展。
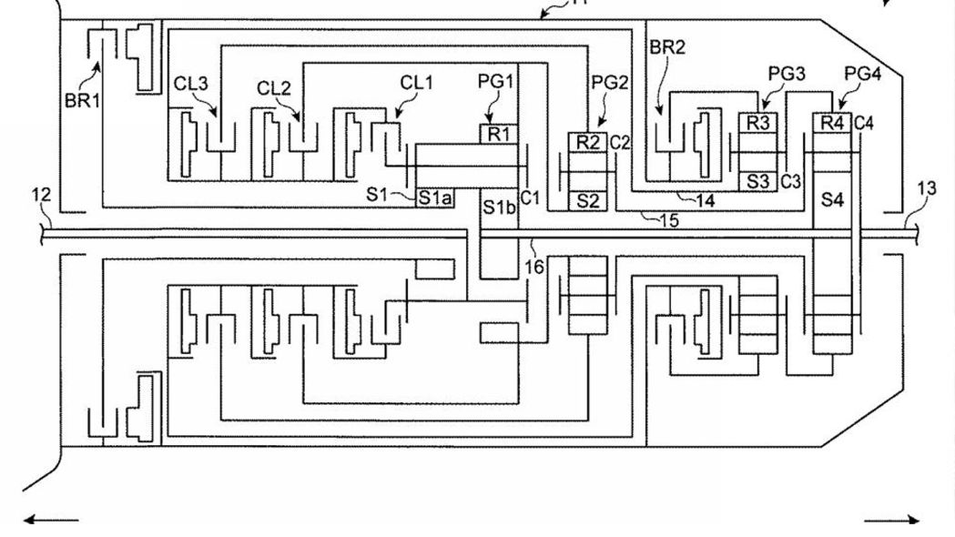
马自达日前公布了数项专利,包括一台直列6缸发动机和一些进排气歧管组件,以及一台8速自动变速箱。


自从马自达上一代CX-9以来,马自达产品线里发动机的最高缸数就是4个。这家汽车制造商认为,通过涡轮增压技术就能为旗下那些体型并不大的车型提供足够的动力。

不过,当全球汽车制造商都在朝着发动机轻量化、小型化转型时,马自达这次选择了做“加法”。它准备打造更大的车辆底盘平台和发动机平台,甚至包括纵置发动机布局和后驱系统。

基于这些信息,我们对马自达未来产品线有两种猜测——推出更多中大型跨界车/SUV;或者为当前例如马自达6这类车型装载更强的动力。

当然,也不排除直6发动机会用于全新打造的旗舰跑车上。因为已经有多家外媒报道称,马自达的RX-9旗舰跑车正在积极研发中,并且会用Skyactiv-X直6发动机配合48伏微混系统代替原本外界猜想的转子发动机。
回到这次专利,专利申请上有一段文字说明称:“提供了一种发动机保证排气结构,可保证排气效率,同时可通过改变排气口结构来减小发动机尺寸。”这种结构不采用独立排气歧管来收集每个气缸排出的废气,目的是可以随意改变发动机尺寸,并减少独立制作多种排气歧管模具的成本。
换句话说,马自达正在采用类似本田和福特使用在小排量涡轮增压机上的集成式排气歧管技术来使得发动机小型化。
上图中的直6发动机专利中仅有两个排气口,证明了该猜测的可信性。
而相比之下,8速自动变速箱专利带来的变化不会像发动机那样显著,它可能会在一定程度上优化动力输出。



评论