腾讯申请“微信豆”商标

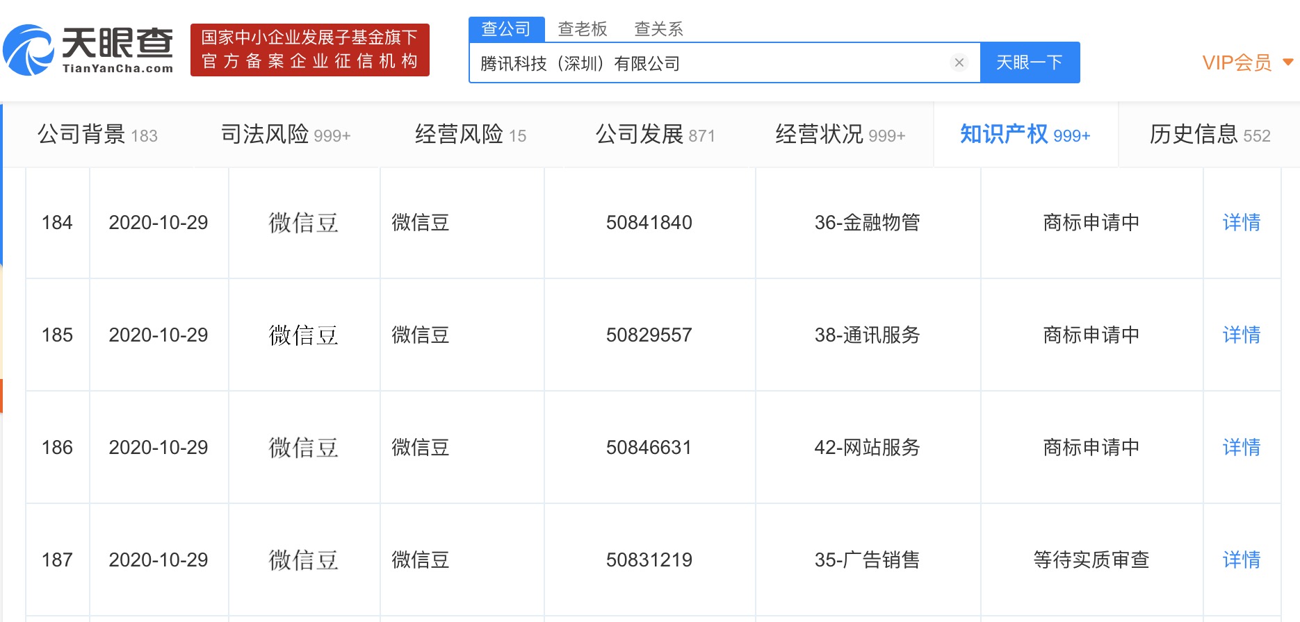
11月18日消息,据天眼查APP显示,近日,腾讯科技(深圳)有限公司新增多条“微信豆”商标信息。商标申请时间为2020年10月29日,国际分类涉及金融物管、通讯服务、网站服务等,商标状态为“商标申请中”与“等待实质审查”。

未经正式授权严禁转载本文,侵权必究。

微信

5.2k
  • 微信状态能查看访客了,腾讯客服:正在iOS端进行灰测
  • 科技早报 | OPPO高管因“母亲节营销文案”事件被直降两级;华为称“内推实习”等均为虚假信息

评论

暂无评论哦,快来评价一下吧!