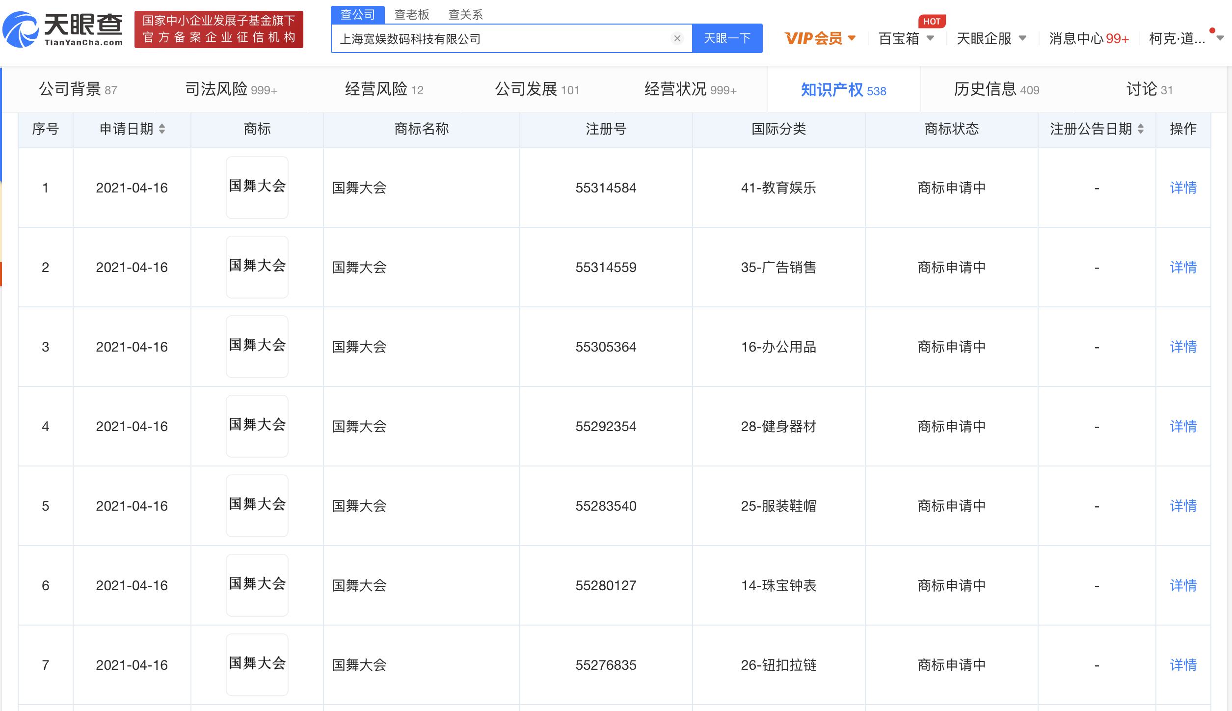
据天眼查APP显示,4月16日,B站关联公司上海宽娱数码科技有限公司申请多个“国舞大会”商标,国际分类涉及教育娱乐、健身器材、服装鞋帽等。商标状态均显示为“商标申请中”。
上海宽娱数码科技有限公司成立于2005年8月,法定代表人为哔哩哔哩董事长兼CEO陈睿,注册资本1亿人民币,经营范围含第一类增值电信业务;第二类增值电信业务;基础电信业务等。

来源:界面新闻
据天眼查APP显示,4月16日,B站关联公司上海宽娱数码科技有限公司申请多个“国舞大会”商标,国际分类涉及教育娱乐、健身器材、服装鞋帽等。商标状态均显示为“商标申请中”。
上海宽娱数码科技有限公司成立于2005年8月,法定代表人为哔哩哔哩董事长兼CEO陈睿,注册资本1亿人民币,经营范围含第一类增值电信业务;第二类增值电信业务;基础电信业务等。

评论