记者 |
最近,日本汽车制造商马自达在欧洲申请了几项新专利,它们似乎是关于一款新的转子发动机汽车。
根据专利显示,这款未命名的车型具有混合动力配置,同时还有一个传统机械结构的变速箱。
正如你可能知道的那样,马自达已经停止生产带有转子发动机的车辆大约十年了。自从最后一辆RX-8被制造出来后,关于继任者的传言就从未停歇。
而每一次,传言都几乎变成了事实。
然而,马自达一直没有完全放开转子发动机项目。该公司的一些高层在各种采访和论坛中透露说,要使这种类型的发动机符合排放法规是很复杂的。

随着欧7标准的出台,排放法规将变得更严苛。如果马自达要推出其最新的转子发动机车型,这将是最后的机会。

虽然这家日本汽车制造商已经试验过以氢气为燃料的转子发动机,但在欧洲专利局提交的新专利与这种替代燃料没有任何关系。
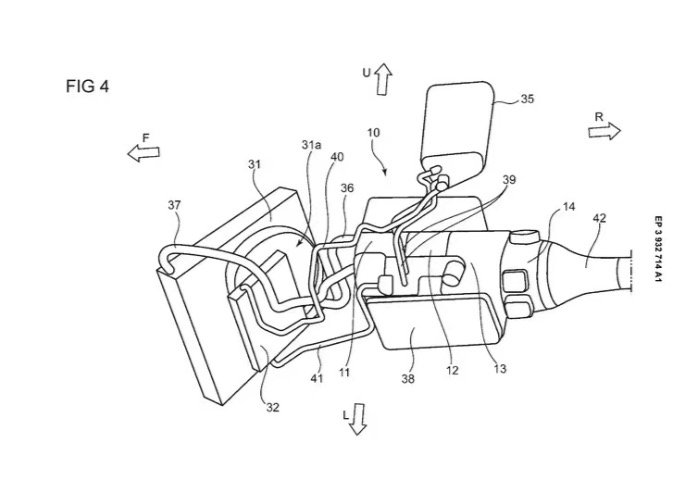
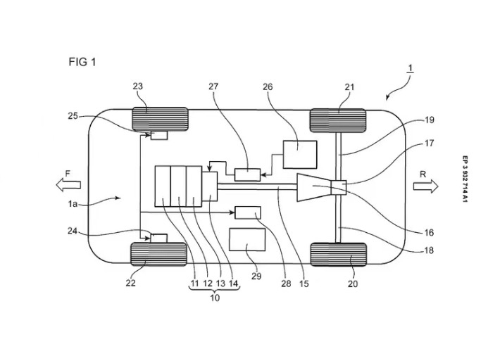
网上一名名为taku2_4885的马自达爱好者所发现,这家日本汽车公司在欧洲获得专利的转子发动机配置是一系列专利的一部分,如果把它们放在一起,似乎该公司正在计划一款具有48V混合动力配置的后轮驱动跑车。

传动装置是一根机械传动轴,而发动机是三转子引擎。这是全新的配置。
值得注意的是,照片库中的图片并非都是最近提交的,有些是2019年的老照片,但它们确实有意义,描绘了马自达正在进行中的新项目。

马自达以前曾提供过单转子和双转子发动机,但三转子配置仅限于Cosmo赛车。三转子发动机的另一个应用是在美国勒芒系列赛的赛车项目中,而在1991年的勒芒24小时耐力赛中获胜的787B原型车是一个四转子引擎。
此前有消息称MX-30增程版车型将采用转子发动机混动系统,然而该车型迟迟未出。
马自达曾经发布过一款名为RX-VISION的概念车,而这套转子发动机混动系统有很大概率会和RX-VISION概念车相互融合。



评论