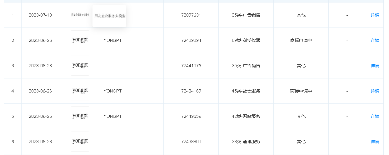
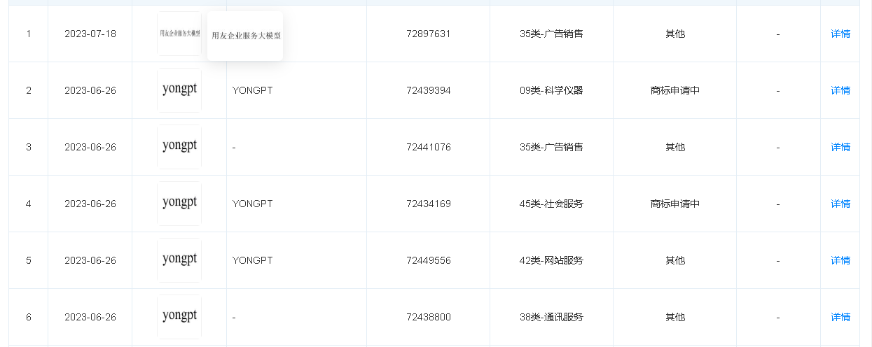
天眼查App显示,近日,用友网络申请“用友企业服务大模型”商标,国际分类为广告销售,当前商标状态为申请中。不久前,该公司还申请了多个“YONGPT”“YONYOUGPT”商标,国际分类涉及科学仪器、网站服务、广告销售等,当前商标状态也为申请中。


来源:界面新闻
天眼查App显示,近日,用友网络申请“用友企业服务大模型”商标,国际分类为广告销售,当前商标状态为申请中。不久前,该公司还申请了多个“YONGPT”“YONYOUGPT”商标,国际分类涉及科学仪器、网站服务、广告销售等,当前商标状态也为申请中。


评论