纽伯格林大战从没歇息,凭借在纽北跟西雅特你争我斗二次登上最速前驱车宝座,雷诺梅甘娜RS火了一把。虽然如今这个头衔被本田最新一代思域Type-R夺走,好斗的法国人也在蠢蠢欲动,怎么会轻易让出宝座。
全新一代梅甘娜RS在上月26日的摩洛哥GP赛事正式登场,新车采用黄黑相间的涂装,向雷诺F1车队成立40周年致敬。据海外媒体报道,新车将于今年9月12日在法兰西车展正式发布、明年第一季度上市销售。新一代梅甘娜将会继续选择用跑纽北来证明自己的实力,试图夺回前驱赛车圈速的最快记录。

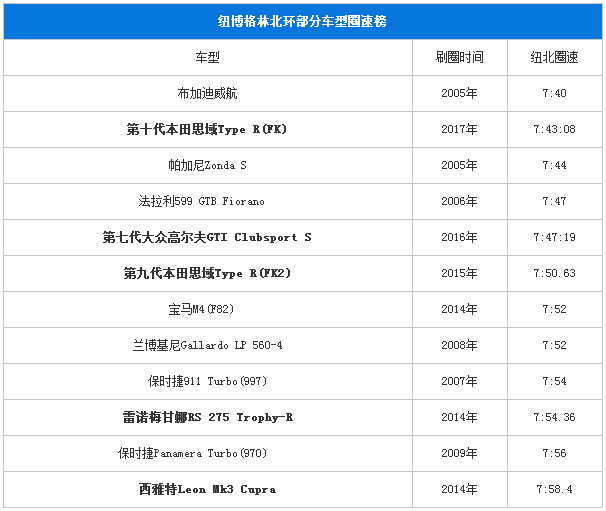
刷纽北圈速一直都是超跑的传统,而其他厂商造出性能车后,为了证明自己在同级中碾压对手的实力,或者证明某款车型也具有超跑的性能表现,都会纷纷拉到纽北赛道闹个新闻。凯迪拉克CTS-V带头,证明了四门轿车也能跑进8分钟,SUV则由路虎掀起了这股刷圈浪潮,至于是谁引发了前驱车的战火呢?既不是本田,也不是大众,而是雷诺。

时间回到2006年,正当雷诺车队当家车手费尔南多 阿隆索加入F1赛车后不久,凭借雷诺R25和R26连续两年夺得F1世界冠军,为此雷诺赛车部门花费了120万欧元研发出高性能特别版梅甘娜F1 Team R26,成为梅甘娜的旗舰车型。
2008年,第三代梅甘娜已经准备正式投放市场,而这时正是老款发挥余热、最后圈一笔钱的时候。于是雷诺在R26的基础上进行强化,诞生了有前驱保时捷 GT3之称的R26.R,并拉到纽北刷出8分16秒9的成绩,这圈速已经超越了当时的保时捷Boxster S(987)。从此,梅甘娜便走向了纽北的不归路。

梅甘娜换代后,雷诺推出了各种版本的梅甘娜RS,并派出了动力最强的梅甘娜RS 265 Trophy去纽北刷圈。该车搭载2.0T引擎,最大输出功率为265马力,峰值扭矩为360牛米,百米加速只需6秒,并且限量发售500台。换代后的梅甘娜RS Trophy,以8分07秒97的成绩刷新了自己的记录,在其之后的是慢了约1秒的上一代M6(E63)。

至此,雷诺一直保持独孤求败的状态,直到2014年西雅特推出Leon Cupra 280才打破局面,耗时仅为7分58秒4,成为了首款推进8秒钟的前置前驱车,把阿斯顿·马丁DBS、奥迪R8(V8)等一众超跑甩在身后。
看到居然有前驱车跑进了8分内,法国人杀红了眼,仅在西雅特Leon Cupra 280登基三个月后,于265 Trophy的基础上进化出275 Trophy-R,拆下众多舒适性设置,在材料上能轻就轻,以7分54秒36的圈速重回榜首。

随后各大厂商便私下暗暗较劲,譬如思域Type R、高尔夫GTI Clubsport S也加入到混战当中。今年4月第十代思域Type R以7分43秒8的成绩获得纽北最速前驱的称号,纽北前驱车的战争正式打响。

虽然在纽北前驱之争中暂时落后于本田思域,但雷诺梅甘娜是一款好的性能车,这是不可否认的事实,其不错的“运动底子”,在同级别的钢炮车型中属于活力凶猛选手。目前在售的第三代梅甘娜诞生于2008年,虽经历过一些外观与性能的升级,但相比之下,内饰与动力性能已经显得落后过时,因此雷诺急切需要一辆跟得上潮流的性能钢炮为其夺回失去的荣耀。如今,充满法式激情的雷诺梅甘娜终于引来第四代车型,而旗舰版梅甘娜RS也将于9月份发布。

与现款相比,全新一点梅甘娜在设计上有了很大的提升。开发平台换成雷诺与日产共同开发的CMF-CD平台(现款日产骐达平台),整车的抓地性与稳定性将有所提高。车头设计不像现款那么“呆萌”,但“回形针”式的头灯设计也真的佩服法国人的审美,几乎贯通的尾灯是这个级别少有的设计。
对于梅甘娜RS来说,最大的改变在于取消了相对不实用的3门掀背版,而仅推出5门车型像其竞争对手TypeR、Focus RS以及A45 AMG都是清一色的5门车型。另外,为了迁就更多不会操作手动变速箱的车主,新一代梅甘娜RS还新增了双离合变速箱可供选择。

在驱动形式上与之前国外媒体所说的采用四驱系统不同,新一代梅甘娜仍旧采用前轮驱动的方式,将继续与本田思域 Type R在纽北前驱战争中正面开战。据透露,第四代雷诺梅甘娜RS将搭载来自Alpine A110的1.8L 涡轮增压四缸引擎,来取代现款2.0L涡轮增压四缸引擎。目前在Alpine中发动机最大功率达249匹,扭矩为320牛米,鉴于梅甘娜的竞争对手几乎都在300匹马力以上,因此新一代梅甘娜RS动力输出也有望提升到300匹左右。
雷诺梅甘娜,或者说是法系车,人们对它们的评价一向是两极分化,喜欢它的人会几近疯狂的追捧他们,不喜欢的人会超出100个拒绝它的理由。就目前中国汽车市场来看,法系车显示是属于后者。如今,法系车正面临着市场边缘化的危机。

从目前在售第三代梅甘娜RS来看,其性能确实非常强大,但不管在民间的知名度还是保有量,较竞争对手本田思域Type-R、大众高尔夫R和奔驰A45AMG都有着不小的差距,尤其在中国惨淡的销量,根本对不起其过去纽北最速前驱的称号。那新一代梅甘娜RS有望改变这种状况吗?
过去梅甘娜RS以个性鲜明的设计,让人无法与传统意义上的两厢车结合在一起,它更像是一个异类。在自动变速箱大面积普及的今天,连保时捷911 GT3 RS这样的准赛车型都开始换装自动变速箱了,而现款梅甘娜RS仍坚持手动变速箱,显得有些执拗。

如今,新一代梅甘娜仿佛开窍了,不仅提供6速手动变速箱和6速双离合变速箱,而且推出5门版来适应更多人的使用需求。其次是价格,大众高尔夫R售价大概在37万左右,A45 AMG相对贵一点,但也就45万左右。而现在大红大紫的本田思域Type R没有正规进口,平行进口的话被炒到60多万。相对前面的对手,现款梅甘娜RS才30多万。这样看来,新一代梅甘娜视乎有点竞争力了。
最后就是一个很重要的问题,这款第四代梅甘娜RS是否会引进国内?虽然每逢那些好玩有趣且小众的车型在国内都不会过得很好,但我们仍希望能有像雷诺梅甘娜RS这样充满法式浪漫主义色彩的五门钢炮带来更多的驾驶乐趣。



评论